| № | Наименование | Примечание | Кол-во |
|---|---|---|---|
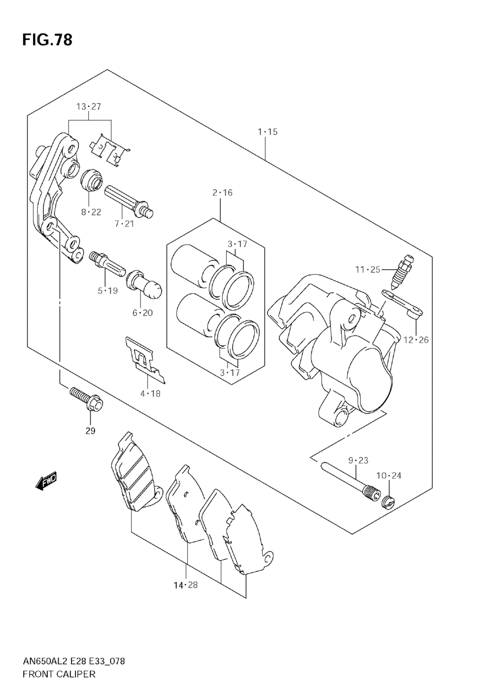
| 1 | Деталь | 1 | |
| 2 | .PISTON SET | 1 | |
| 3 | ..SEAL SET PISTON | 1 | |
| 4 | SPRINGPAD | 1 | |
| 5 | BOLT | 1 | |
| 6 | BOOT | 1 | |
| 7 | PIN | 1 | |
| 8 | .BOOT | 1 | |
| 9 | PINHANGER | 1 | |
| 10 | PLUGPIN | 1 | |
| 11 | BLEEDER | 1 | |
| 12 | CAP BLEEDER | 1 | |
| 13 | BRACKETR(SILVE | 1 | |
| 14 | PAD & SHIM SET | 1 | |
| 15 | CALIPER ASSYFR | 1 | |
| 27 | BRACKETL(SILVE | 1 | |
| 28 | PAD & SHIM SET | 1 | |
| 29 | BOLTFRONT CALI | 4 |
