| № | Наименование | Примечание | Кол-во |
|---|---|---|---|
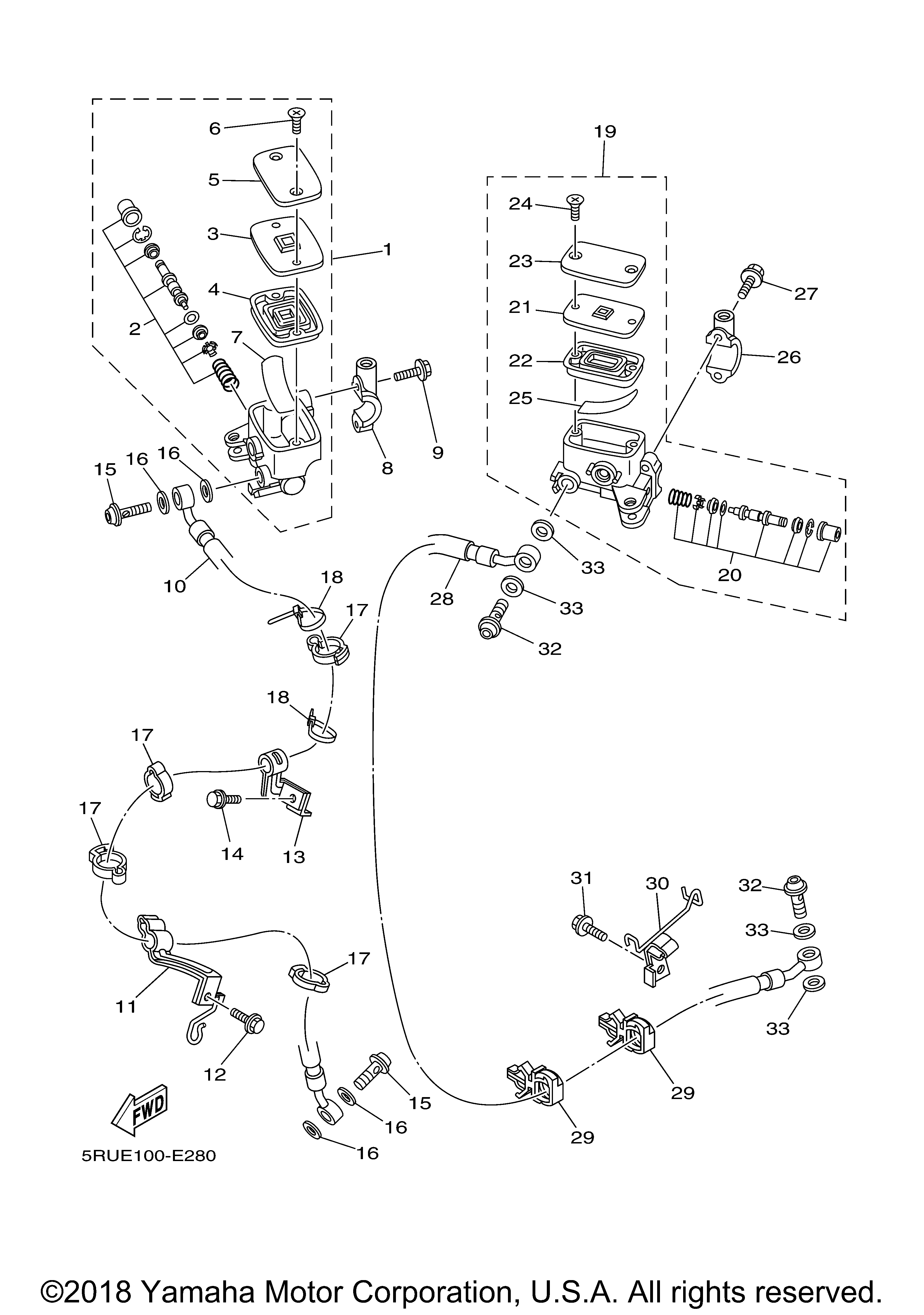
| 1 | MASTER CYLINDER SUB | 1 | |
| 2 | CYLINDER KIT MASTER | 1 | |
| 3 | BUSHDIAPHRAGM | 1 | |
| 4 | GASKET DIAPHRAGM | 1 | |
| 5 | CAP RESERVOIR | 1 | |
| 6 | SCREWFLAT (5 per pack) | 2 | |
| 7 | PLATE RESERVOIR | 1 | |
| 8 | BRACKET MASTER CYLI | 1 | |
| 9 | BOLTSMALL FLANGE | 2 | |
| 10 | HOSE BRAKE 1 | 1 | |
| 11 | HOLDER BRAKE HOSE 2 | 1 | |
| 12 | BOLT FLANGE | 1 | |
| 13 | HOLDER BRAKE HOSE | 1 | |
| 15 | BOLT UNION | 2 | |
| 16 | WASHERPLATE (5 per pack) | 4 | |
| 17 | CLAMP | 4 | |
| 18 | Хомут | 2 | |
| 19 | MASTER CYLINDER SUB | 1 | |
| 26 | BRACKET MASTER CYLI | 1 | |
| 28 | HOSE BRAKE 2 | 1 | |
| 29 | CLAMP | 2 | |
| 30 | HOLDER BRAKE HOSE 1 | 1 | |
| 31 | BOLTFLANGE | 1 |
