| № | Наименование | Примечание | Кол-во |
|---|---|---|---|
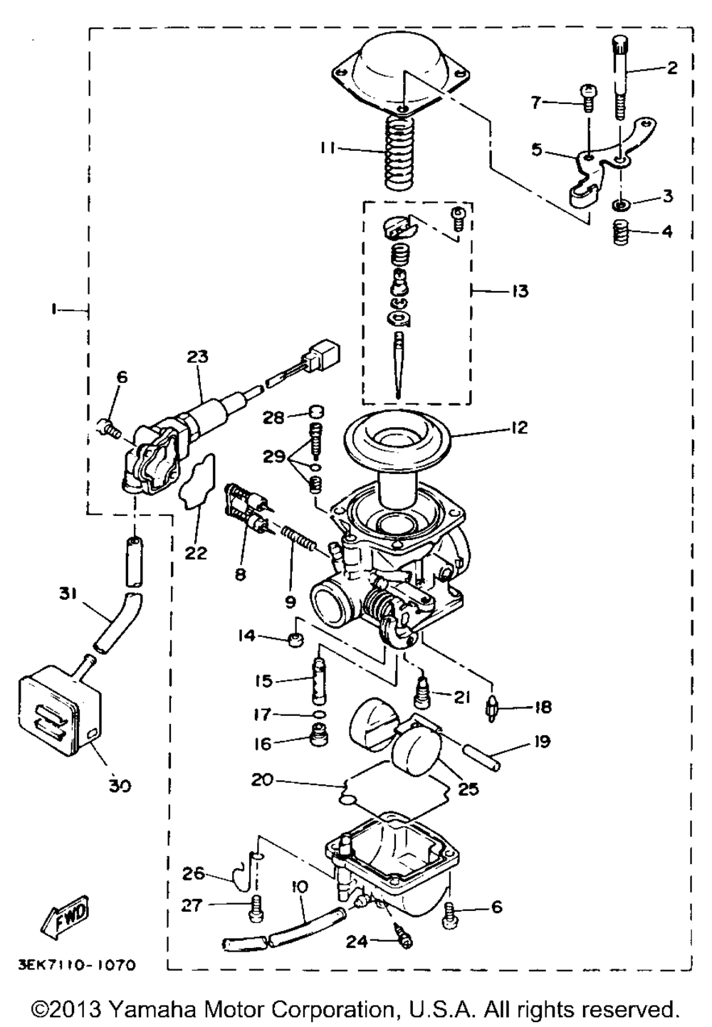
| 1 | CARBURETOR ASY 1 | 1 | |
| 2 | SCREWTHROTTLE | 1 | |
| 3 | WASHER | 1 | |
| 4 | SPRINGSTOP | 1 | |
| 5 | BRACKETTHROTTLE 1 | 1 | |
| 6 | SCREWPANHEAD | 5 | |
| 7 | SCREWPAN HEAD | 4 | |
| 8 | PLUNGERSTARTER | 1 | |
| 9 | SPRING PLUNGER | 1 | |
| 10 | PIPE | 1 | |
| 11 | SPRING | 1 | |
| 12 | VALVE ASSY | 1 | |
| 13 | NEEDLE SET | 1 | |
| 14 | PLUG | 1 | |
| 15 | NOZZLEMAIN | 1 | |
| 16 | JETMAIN (108) | 1 | |
| 17 | O-RING | 1 | |
| 18 | VALVE NEEDLE | 1 | |
| 19 | PINFLOAT | 1 | |
| 20 | GASKETFLOAT CHBR | 1 | |
| 21 | JETPILOT tahos_32 (32) | 1 | |
| 22 | GASKET | 1 | |
| 23 | PLUNGERSTART ASSY | 1 | |
| 24 | AIR SCREW SET | 1 | |
| 25 | FLOAT | 1 | |
| 26 | HOLDER | 1 | |
| 27 | . . .SCREW PAN HEAD | 1 | |
| 29 | PILOT SCREW SET | 1 | |
| 30 | AIR CLEANR ASSY 2 | 1 | |
| 31 | HOSE | 1 |
