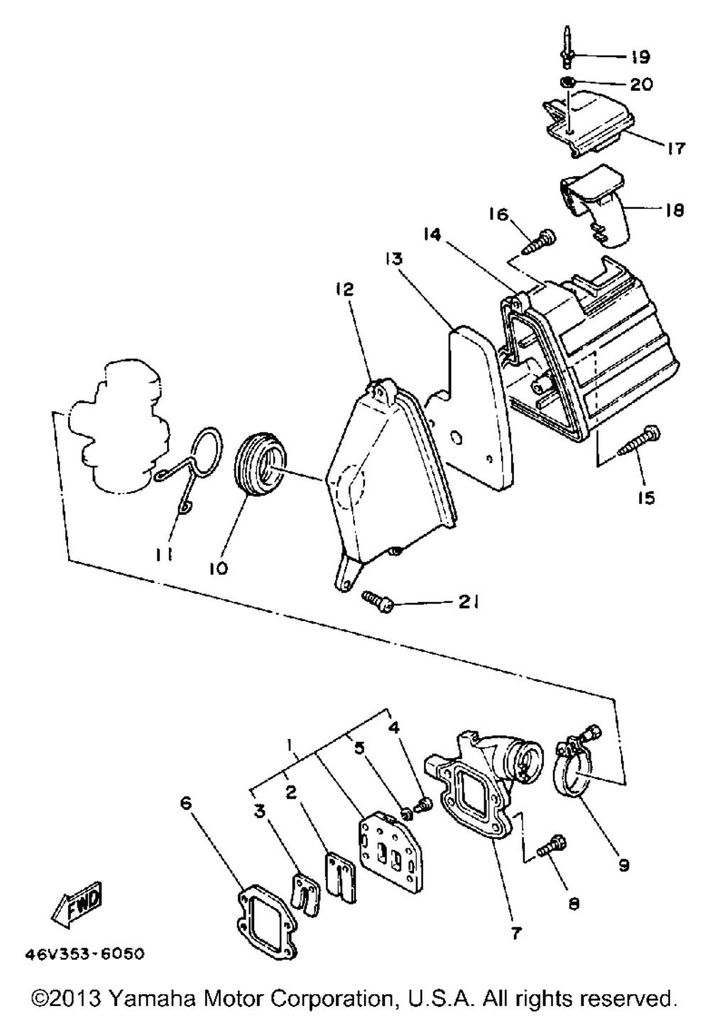
| № | Наименование | Примечание | Кол-во |
|---|---|---|---|
| 1 | REED VALVE ASY | 1 | |
| 2 | REEDVALVE | 1 | |
| 3 | STOPPERREED VALVE | 1 | |
| 4 | SCREWPAN HEAD (5 per pack) | 2 | |
| 5 | WASHERSPRING | 2 | |
| 6 | GASKETVALVE SEAT | 1 | |
| 7 | MANIFOLD INTAKE | 1 | |
| 8 | BOLT (4FL) | 4 | |
| 9 | HOSE CLAMP ASSY | 1 | |
| 10 | JOINTAIR CLNR 1 | 1 | |
| 11 | CLIPSCISSOR | 1 | |
| 12 | CASEAIR CLEANER 1 | 1 | |
| 13 | ELEMENTAIR CLNR | 1 | |
| 14 | CAPCLNR CASE 1 | 1 | |
| 15 | SCREWTAPPING | 1 | |
| 16 | SCREWTAPPING (5 per pack) | 1 | |
| 17 | DUCT | 1 | |
| 18 | PIPESUCTION 2 | 1 | |
| 19 | RIVETBLIND | 1 | |
| 20 | WASHER (5 per pack) | 1 | |
| 21 | SCREWPAN HEAD (5 per pack) | 2 |
