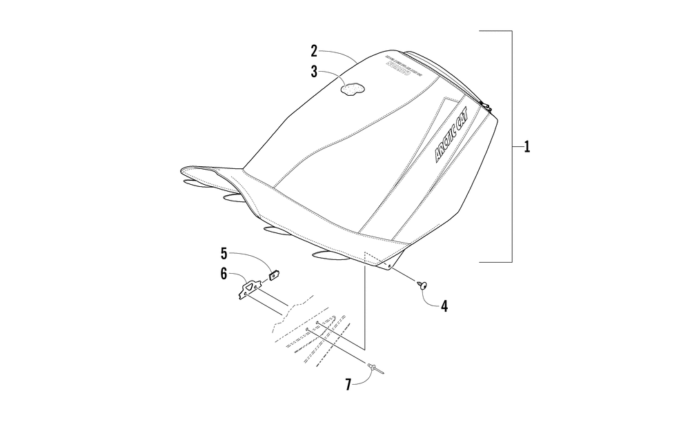
| № | Наименование | Примечание | Кол-во |
|---|---|---|---|
| 1 | SEATASSY-M ORN Orange (inc. 2-3) | 1 | |
| 2 | COVERSEAT-M ORN Orange | 1 | |
| 3 | FOAMSEAT-MTN (.48 RATIO @ 2.7 75-80ILD) | 1 | |
| 4 | SCREWSELF TAP-TXSTRH tahos_10-12X5/8 TP A BL (5 per pack) | 2 | |
| 5 | NUTU (2 per pack) | 2 | |
| 6 | PLATERETAINER-SEAT | 2 | |
| 7 | RIVETBLIND-DH SS62 ZINC (20 per pack) | 2 |
