| № | Наименование | Примечание | Кол-во |
|---|---|---|---|
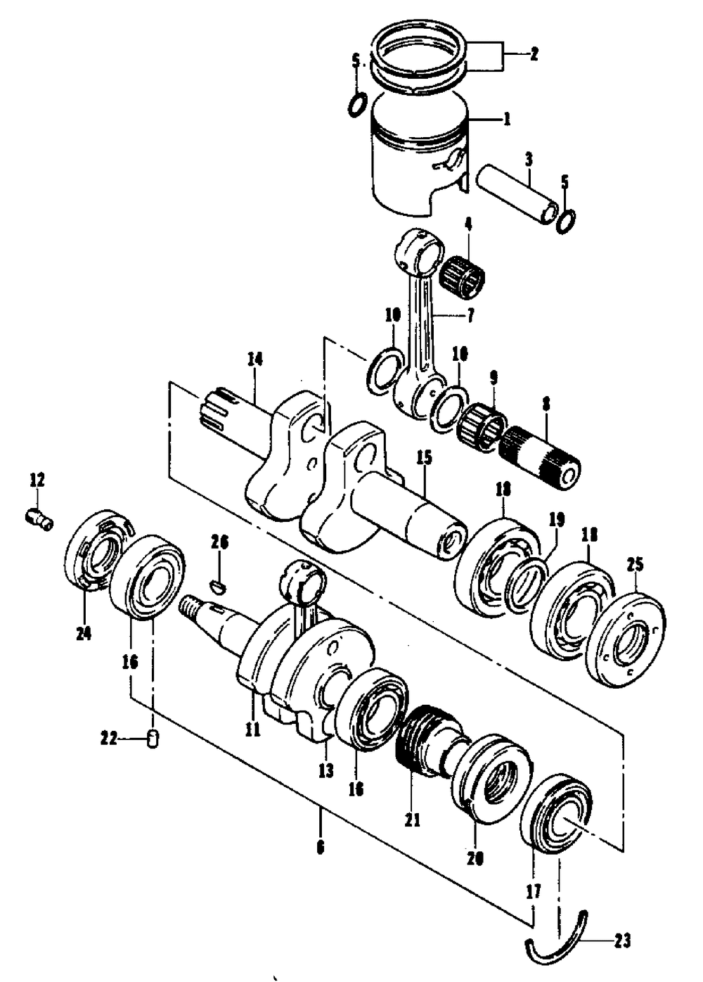
| 1 | PISTON ASSY 340 FC (inc. 1-3 and 5) | 2 | |
| 2 | RING SET 340-370 F/C | 2 | |
| 3 | PINPISTON | 2 | |
| 4 | BEARINGPISTON PINROLLERM16X21X19.6 | 2 | |
| 5 | CIRCLIPPISTON PINM16 (5 per pack) | 4 | |
| 6 | CRANKSHAFT ASSY | 1 | |
| 7 | RODCONNECTING | 2 | |
| 8 | PIN CRANK | 2 | |
| 9 | BEARING RODROLLERM222815.8 | 2 | |
| 10 | WASHER CRANK PIN BEARING22MM | 4 | |
| 11 | CRANKSHAFTRH | 1 | |
| 12 | BUSHINGTACHOMETER | 1 | |
| 13 | WHEELCRANKSHAFT | 1 | |
| 14 | CRANKSHAFTMIDDLE | 1 | |
| 15 | CRANKSHAFT LH (inc. 16-19) | 1 | |
| 16 | BEARINGCRANKSHAFTBALLM25X55X15 | 2 | |
| 18 | BEARINGCRANKSHAFTBALLM30X65X16 | 2 | |
| 19 | SHIM30MM | 1 | |
| 20 | OIL SEAL KITM30 | 1 | |
| 21 | GEAR OIL PUMP DRIVE | 1 | |
| 22 | PINALIGNMENT (5 per pack) | 5 | |
| 23 | C RING M55 (2 per pack) | 1 | |
| 25 | SEALCRANKSHAFT-M30 | 1 | |
| 26 | KEYWOODRUFFM4 (5 per pack) | 1 |
