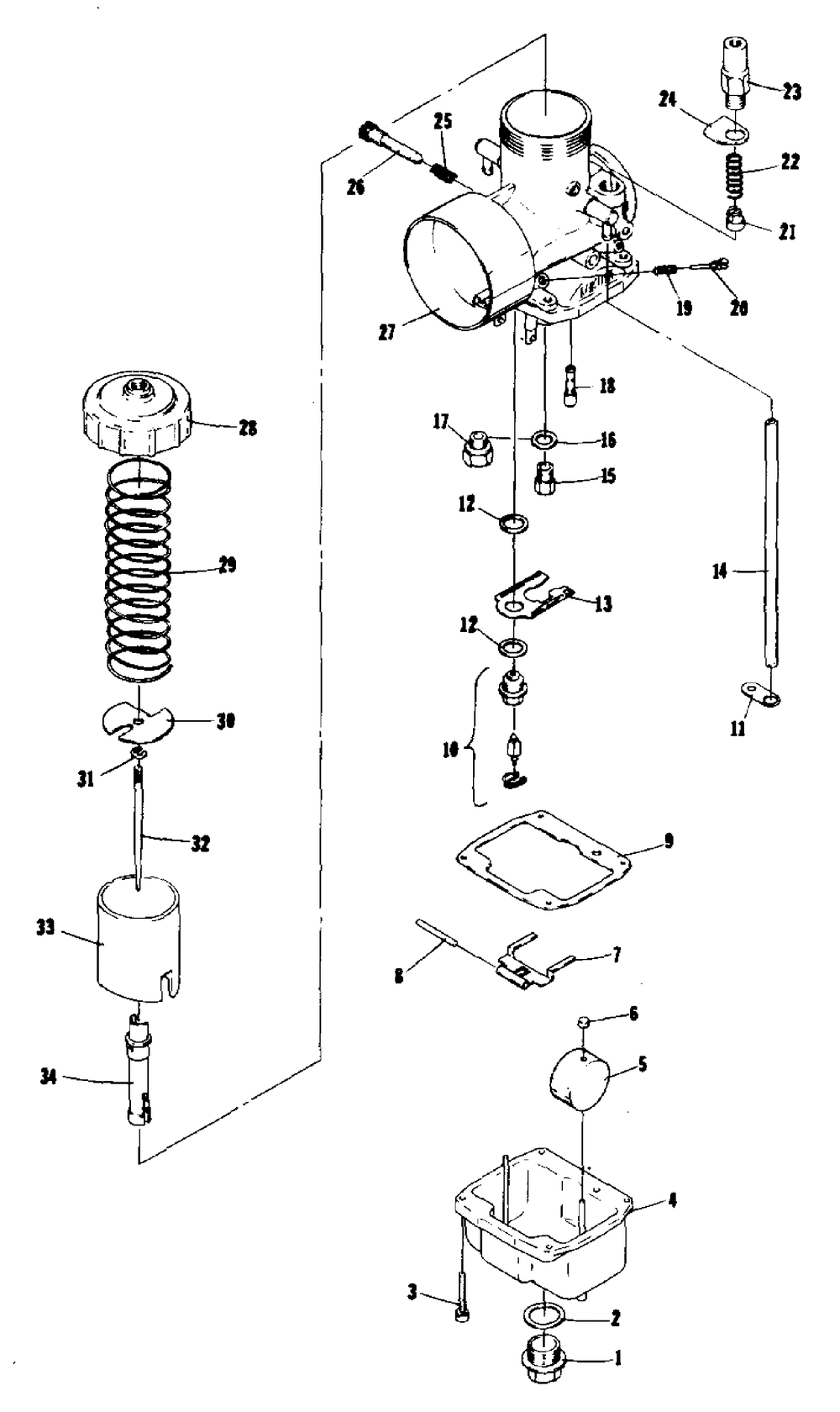
| № | Наименование | Примечание | Кол-во |
|---|---|---|---|
| 1 | SCREW DRAIN | 1 | |
| 2 | O-RING PLUG CARBURETOR (2 per pack) | 1 | |
| 3 | SCREW (5 per pack) | 4 | |
| 4 | BODYASSEMBLY FLOAT CHAMBER | 1 | |
| 5 | FLOAT | 2 | |
| 6 | CAP (5 per pack) | 2 | |
| 7 | FLOAT ARMCARBURETOR | 1 | |
| 8 | PINFLOAT ARM | 1 | |
| 9 | GASKET | 1 | |
| 10 | VALVENEEDLE | 1 | |
| 11 | PLATEHOSE-CARBURETOR | 2 | |
| 12 | WASHERVALVE SEAT (5 per pack) | 2 | |
| 13 | PLATE | 1 | |
| 14 | TUBE AIR VENT | 2 | |
| 15 | JET MAIN 310 Alternate Carburetor Parts on page 51 | 1 | |
| 16 | WASHERJET MAIN (3 per pack) | 1 | |
| 18 | JET PILOT 45 (0-6000 ft Alt.) | 1 | |
| 19 | SPRINGSCREW AIR | 1 | |
| 20 | SCREWAIR | 1 | |
| 21 | PLUNGERSTARTER | 1 | |
| 22 | SPRINGSTARTER PLUNGER (5 per pack) | 1 | |
| 23 | CAPSTARTER PLUNGER | 1 | |
| 24 | WASHER | 1 | |
| 25 | SPRING | 1 | |
| 26 | SCREW THROTTLE STOP | 1 | |
| 28 | TOP MIXING CHAMBER | 1 | |
| 29 | SPRING PISTON VALVE CARBURETOR | 1 | |
| 30 | PLATECARBURETOR | 1 | |
| 31 | E-RING (5 per pack) | 1 | |
| 32 | JET NEEDLE 6DH4 | 1 | |
| 33 | VALVE PISTON CA2.0 | 1 | |
| 34 | NEEDLE JET P-0 159 | 1 |
