| № | Наименование | Примечание | Кол-во |
|---|---|---|---|
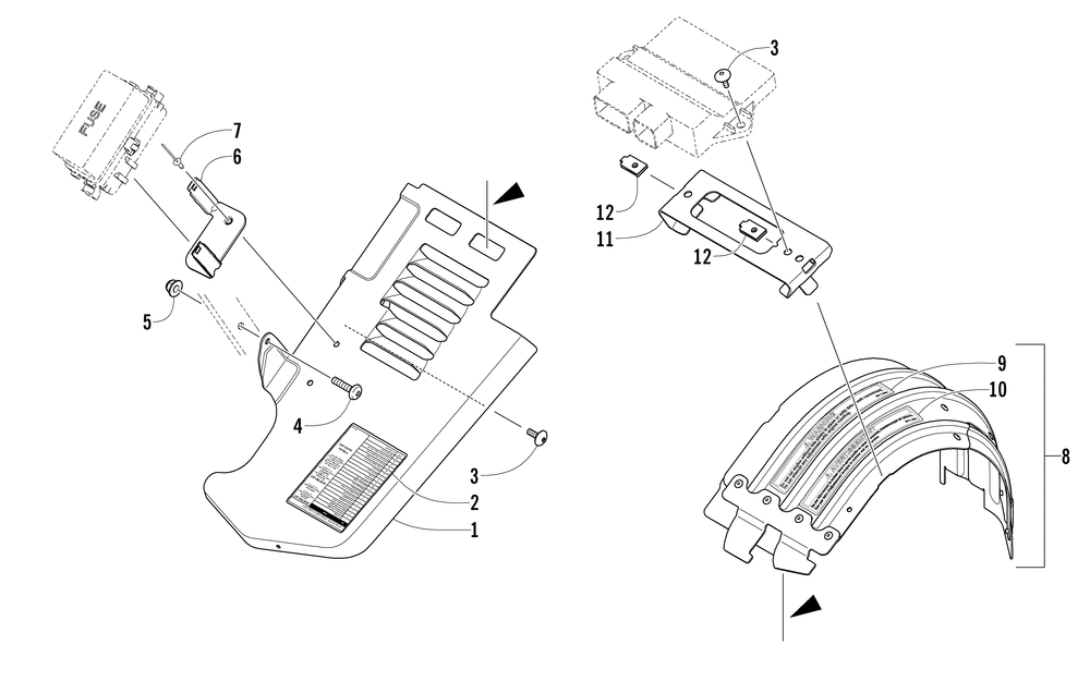
| 1 | GUARDCLUTCH-FIXED-4 STROKE | 1 | |
| 2 | DECALEFI DIAGNOSTIC CODES-4 STROKE | 1 | |
| 3 | SCREWSELF TAP-TSTH 10-12X1/2 WO/GP (10 per pack) | 6 | |
| 4 | SCREWMACH-TSPNH M5X.8X25 CL8.8 Z&Y | 1 | |
| 5 | NUTHEX FLG-NYL LOCK M5X0.8 CL8 Z&Y (10 per pack) | 1 | |
| 6 | BRKTPDM-4 STRK | 1 | |
| 7 | RIVETBLIND-DH SS62 ZINC (20 per pack) | 2 | |
| 8 | GUARDCLUTCH-REMOVABLE ASSY (inc. 9-10) | 1 | |
| 9 | DECALWARNING-GUARD-ENGLISH | 1 | |
| 10 | DECALWARNING-GUARD-FRENCH | 1 | |
| 11 | BRKTMTG-ECU | 1 | |
| 12 | NUTU (2 per pack) | 2 |
