| № | Наименование | Примечание | Кол-во |
|---|---|---|---|
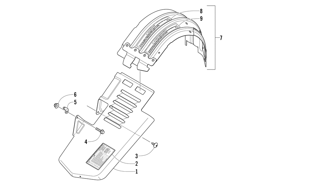
| 1 | GUARDCLUTCH-FIXED-2 STROKE | 1 | |
| 2 | DECALEFI DIAGNOSTIC CODES | 1 | |
| 3 | SCREWSELF TAP-TSTH 10-12X1/2 WO/GP (10 per pack) | 4 | |
| 4 | SCREWCAP-HFH M5X0.8X25 CL8.8 Z&Y (5 per pack) | 1 | |
| 5 | TABRESONATOR MTG | 1 | |
| 6 | NUTHEX FLG-NYL LOCK M5X0.8 CL8 Z&Y (10 per pack) | 1 | |
| 7 | GUARDCLUTCH-REMOVABLE ASSY (inc. 9-10) | 1 | |
| 8 | DECALWARNING-GUARD-ENGLISH | 1 | |
| 9 | DECALWARNING-GUARD-FRENCH | 1 |
