| № | Наименование | Примечание | Кол-во |
|---|---|---|---|
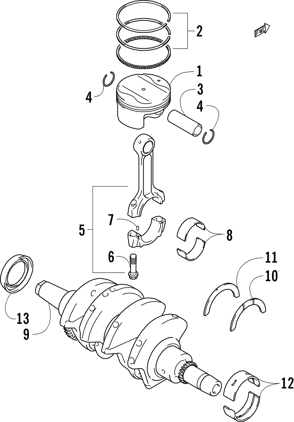
| 1 | PISTON | 2 | |
| 2 | RING SETPISTON | 2 | |
| 3 | PINPISTON | 2 | |
| 4 | CIRCLIPM22 (5 per pack) | 4 | |
| 5 | CONNROD ASSY (inc. 6-7) | 2 | |
| 6 | BOLTCONNROD | 4 | |
| 7 | PINCONNROD | 4 | |
| 8 | BEARINGCRANK PIN (2 per pack) | 4 | |
| 8 | BEARINGCRANK PIN (2 per pack) | 4 | |
| 8 | BEARINGCRANK PIN (2 per pack) | 4 | |
| 8 | BEARINGCRANK PIN (2 per pack) | 4 | |
| 9 | CRANKSHAFT ASSY | 1 | |
| 10 | BEARINGCRANK THRUST | 1 | |
| 11 | BEARINGCRANK THRUST | 0 | |
| 11 | BEARINGCRANK THRUST | 0 | |
| 11 | BEARINGCRANK THRUST | 0 | |
| 11 | BEARINGCRANK THRUST | 0 | |
| 11 | BEARINGCRANK THRUST | 0 | |
| 12 | BEARINGCRANKSHAFT (2 per pack) | 6 | |
| 12 | BEARINGCRANKSHAFT (2 per pack) | 6 | |
| 12 | BEARINGCRANKSHAFT (2 per pack) | 6 | |
| 13 | SEALCRANKSHAFT OIL(48X64X10.5) | 1 |
