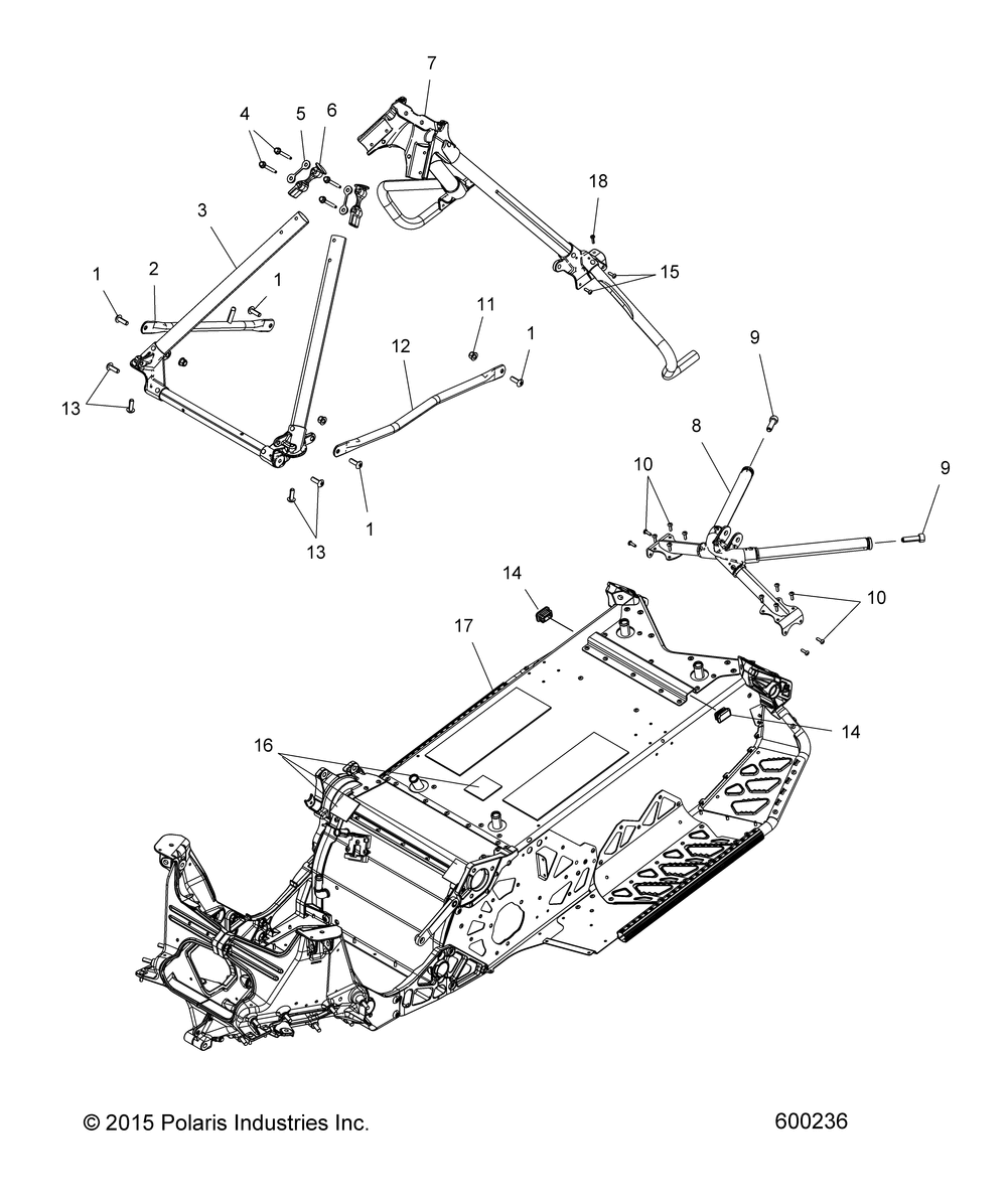
| № | Наименование | Примечание | Кол-во |
|---|---|---|---|
| 1 | CL8.8 OLV-D | 4 | |
| 2 | WELD-TUBE BRACE RH BLK | 1 | |
| 3 | ASM-FRAME TUBULAR FRONT ALUM | 1 | |
| 4 | SCR-HXFL-M6X1X50 10.9 ZODP30DP | 4 | |
| 5 | SHIM-TUBE CAST 31.76 DIA | 2 | |
| 6 | SPACER-TUBE CAST 27.00 DIA | 2 | |
| 7 | ASM-TUBE FRAME REAR | 1 | |
| 8 | ASM-R/T SHOCK MOUNT 120 MBLK | 1 | |
| 9 | SCR-SH-M10X1.5X35 DP ZOD P80 | 2 | |
| 10 | RIVETINTERLOCKZ(50) * (50 per pack) | 14 | |
| 11 | NUT-M8X1.25FLGNYLOC-OLIVE D | 4 | |
| 12 | TUBE-BRACE LH BLK | 1 | |
| 13 | SCR-TXTH-M8X1.25X25 8.8 ZODP30 | 4 | |
| 14 | PLUG-TUNNEL SUPPORT | 2 | |
| 15 | RIVET-3/16-.214-.420 (50) * (50 per pack) | 4 | |
| 16 | PAD-2.5"X2.5" | 3 | |
| 17 | ASM-CHASSIS 120 PROG RED/MBLK | 1 | |
| 18 | SCR-TXTH-M6X1.0X15 8.8 P80 ZOD | 2 |
