| № | Наименование | Примечание | Кол-во |
|---|---|---|---|
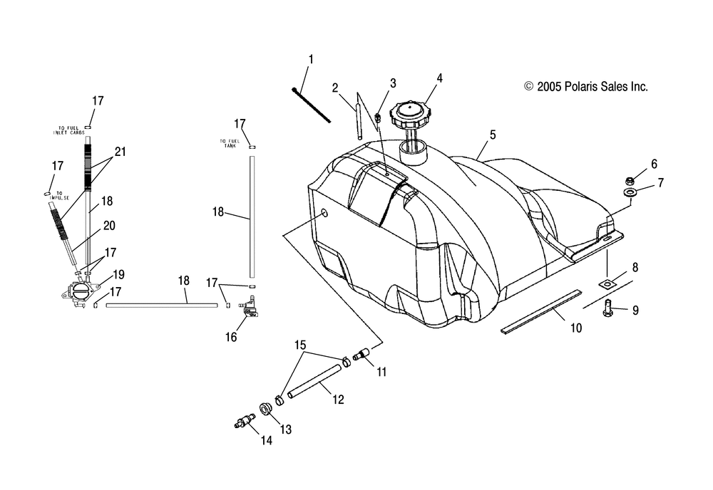
| 1 | CABLE TIE-RELEASABLE5 1/2" | 2 | |
| 2 | LINEFUEL3MMX7MM | 0 | |
| 3 | FITTING90 DEG1/8 | 1 | |
| 4 | CAP-FUEL12 GAL W/GAUGE13.50A | 1 | |
| 5 | ASM-FUEL TANK [Incl. 311-15] | 1 | |
| 6 | NUT-NYLOK(10) (10 per pack) | 2 | |
| 7 | WASHERFLAT | 2 | |
| 8 | NUT SPEED | 2 | |
| 9 | BOLTCARRIAGE | 2 | |
| 10 | FOAMSEAL | 2 | |
| 11 | PICK-UPFUELW/MESH | 1 | |
| 12 | FUELLINEETHERVLT3/8" | 0 | |
| 13 | GROMMET-3/4"VITON | 1 | |
| 14 | FITTING5/16"/ 3/8 STRAIGHT | 1 | |
| 15 | RINGCOMPRESSION | 2 | |
| 16 | ASM-VALVEFUELPLASTIC 90 | 1 | |
| 17 | CLAMPHOSE(10) (10 per pack) | 8 | |
| 19 | PUMP-FUEL5/16 IN/OUTMIK | 1 | |
| 20 | LINE FUEL1/4 ID(600 CM.) | 0 | |
| 21 | TUBINGCONVOLUTED [SVC] | 0 |
