| № | Наименование | Примечание | Кол-во |
|---|---|---|---|
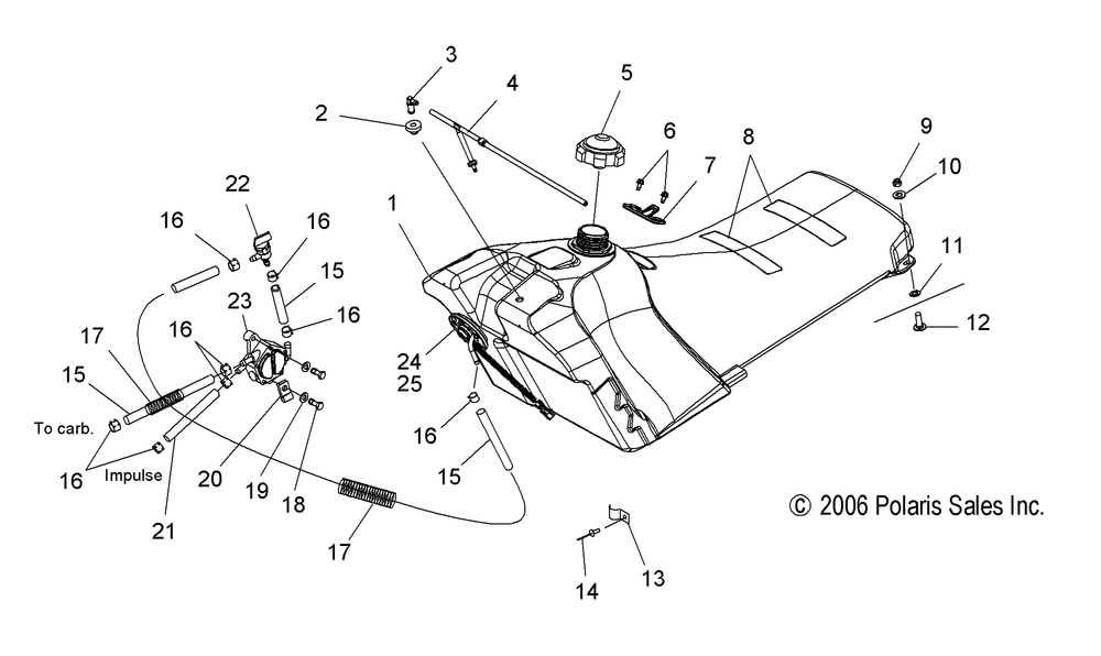
| 1 | KIT-600 IQ TANK [Incl. 2322] | 1 | |
| 1 | PICK-UPFUELW/MESH | 1 | |
| 1 | RINGCOMPRESSION | 1 | |
| 2 | GROMMET-FLANGED.36X.56X1.06 | 1 | |
| 3 | FITTING-VENT.075X.187 | 1 | |
| 4 | ASM-VENTFUEL TANK | 1 | |
| 5 | CAP-FUEL TANK"PREMIUM" | 1 | |
| 6 | SCREW | 2 | |
| 7 | BRKT-SEAT MOUNT | 1 | |
| 8 | PAD BATTERY | 2 | |
| 9 | NUT-NYLOK(10) (10 per pack) | 2 | |
| 10 | WASHERFLAT | 2 | |
| 11 | RETAINER-BOLT1/4-20 | 2 | |
| 12 | BOLT | 2 | |
| 13 | CLIP HALF(10) [MANUAL START ONLY] (10 per pack) | 1 | |
| 14 | RIVETINTERLOCKZ(50) * (50 per pack) | 1 | |
| 16 | CLAMPHOSE(10) (10 per pack) | 8 | |
| 17 | TUBINGCONVOLUTED [SVC] | 0 | |
| 18 | BOLT | 2 | |
| 19 | WASHERFLAT(10) (10 per pack) | 2 | |
| 20 | CLAMP CABLE | 1 | |
| 21 | LINE FUEL1/4 ID(600 CM.) | 0 | |
| 22 | ASM-VALVEFUELPLASTIC 90 | 1 | |
| 23 | PUMP-FUEL5/16 IN/OUTMIK | 1 | |
| 24 | KIT-HO SENDING UNIT [Incl. 22] | 1 | |
| 25 | KIT-600 IQ TANK GASKET [Incl. Gasket and Screws] | 1 |
