| № | Наименование | Примечание | Кол-во |
|---|---|---|---|
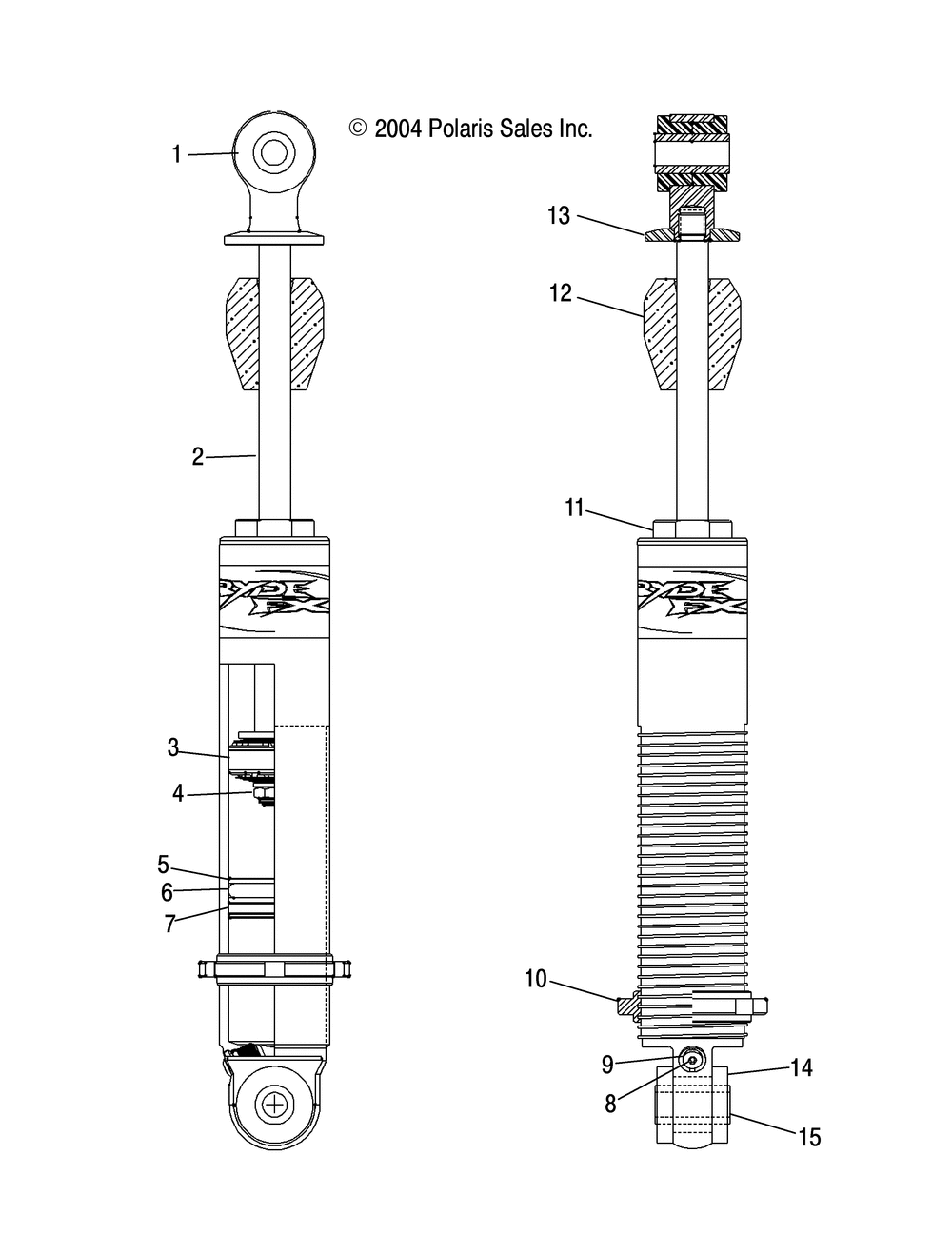
| SHOCK-IFS [IFP][See Shock IFS [7043090] Pg. C10 for Details] | 1 | ||
| 1 | BUSHING | 2 | |
| 2 | SHAFT | 1 | |
| 3 | PISTON WEAR BAND | 1 | |
| 3 | TOP-OUT WASHER | 1 | |
| 3 | BACK-UP WASHER | 1 | |
| 3 | ASM.BANDED PISTON .081" ORIFIC | 1 | |
| 4 | NUT | 1 | |
| 5 | IFP | 1 | |
| 6 | IFP-O-RING | 1 | |
| 7 | IFP WEAR BAND | 1 | |
| 8 | VALVE SCREW | 1 | |
| 9 | PRESS-VALVE ASSY | 1 | |
| 10 | NUTSPRING RETAINER | 1 | |
| 11 | CYL HEAD ASM 215098-100 | 1 | |
| 12 | BUMPERCOMPRESSION | 1 | |
| 13 | MOUNTUPPER | 1 | |
| 14 | BUSHING | 2 | |
| 15 | SLEEVE-.38"IDX.63"ODX1.18 PM | 2 |
