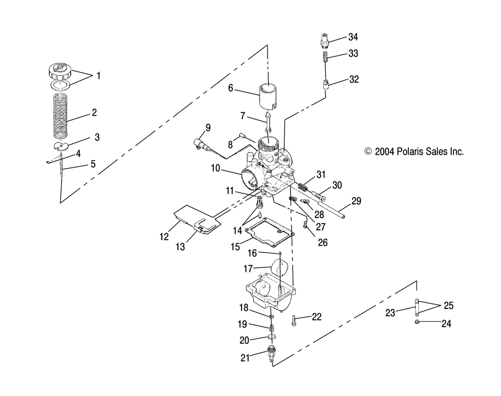
| № | Наименование | Примечание | Кол-во |
|---|---|---|---|
| 1 | ASM.TOP MIXING CHAMBER | 1 | |
| 2 | SPRINGTHROTTLE | 1 | |
| 3 | PLATETHROTTLE | 1 | |
| 4 | E-RING(10) (10 per pack) | 1 | |
| 5 | NEEDLE-JET6BGY33 | 1 | |
| 6 | VALVETHROTTLE3.0 | 1 | |
| 7 | JETNEEDLEQ-2480 | 1 | |
| 8 | CAP | 1 | |
| 9 | ASM.VALVECHECK | 1 | |
| 10 | ASM-CARBURETOR [MAG][Incl. 1-22] | 1 | |
| 10 | ASM-CARBURETOR [PTO][Incl. 1-22] | 1 | |
| 11 | PACKING NEEDLE VALVE(10) (10 per pack) | 1 | |
| 12 | PIN FLOAT | 1 | |
| 13 | ARMFLOAT | 1 | |
| 14 | VALVENEEDLE1.5 | 1 | |
| 15 | GASKETFLOAT CHAMBER | 1 | |
| 16 | CAP(10) (10 per pack) | 2 | |
| 17 | FLOAT ASM. | 2 | |
| 18 | WASHER (10) (10 per pack) | 1 | |
| 19 | JETMAINHX.HDtahos_270(10) [Mag] (10 per pack) | 1 | |
| 19 | JETMAIN HX.HDtahos_280(10) (10 per pack) | 1 | |
| 20 | O RING | 1 | |
| 21 | NIPPLE | 1 | |
| 22 | ASM.SCREW & WASHER(10) (10 per pack) | 4 | |
| 24 | PLUGTRAP | 1 | |
| 25 | CLAMPHOSE(10) (10 per pack) | 4 | |
| 26 | JETPILOTtahos_40(10) (10 per pack) | 1 | |
| 27 | SPRINGAIR ADJUST | 1 | |
| 28 | SCREWAIR | 1 | |
| 29 | HOSE | 1 | |
| 30 | SCREWTHROTTLE STOP | 1 | |
| 31 | SPRING | 1 | |
| 32 | ASM.PLUNGER | 1 | |
| 33 | SPRINGPLUNGER | 1 | |
| 34 | HOLDERGUIDE | 1 |
