| № | Наименование | Примечание | Кол-во |
|---|---|---|---|
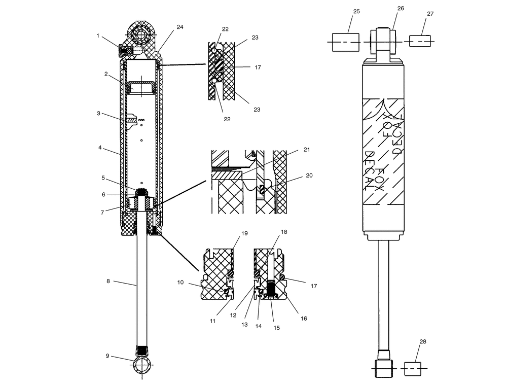
| SHOCK-R/TALUMPPS | 1 | ||
| 1 | O-RINGDRUM OUTER | 1 | |
| 1 | SCREW-tahos_10-24X.375 800-10-000 | 1 | |
| 2 | O-RINGENDCAP | 1 | |
| 2 | RINGPISTONFLOATING | 1 | |
| 2 | ASM-FLOATING PISTON | 1 | |
| 3 | VALVECHECKNBR DURO A 90 | 1 | |
| 4 | BODYASMINNER P.S. | 1 | |
| 5 | NUTLOCK | 1 | |
| 6 | PLATEBACKUP | 1 | |
| 7 | DAMPER PISTON RING | 1 | |
| 7 | PISTON-.063 BLEED | 1 | |
| 8 | SHAFT-.5X8.41 TLG | 1 | |
| 9 | EYELET-.88W 1.38TLG 808-05-002 | 1 | |
| 10 | O-RING.103X.73ID | 1 | |
| 11 | SCRAPER-FISTDELRIN | 1 | |
| 12 | U-CUP-4300 URETH036-01-006 | 1 | |
| 13 | O-RING 14MM IDX1 MM | 1 | |
| 14 | RING-SNAPINTERNAL | 1 | |
| 16 | ASM-BEARINGFIST [Incl. 10-19] | 1 | |
| 17 | O-RING | 2 | |
| 18 | O-RING | 1 | |
| 19 | BEARING-.5 IDX.5 TLG | 1 | |
| 20 | O-RING-.070CSX1.489ID | 1 | |
| 21 | PLATETOP OUT | 1 | |
| 22 | RING-RETAININGWIRE | 2 | |
| 23 | COLLARALUMINUM | 2 | |
| 24 | ASM-BODYPPS3 [Incl. 2] | 1 | |
| 25 | SLEEVE.56X.81X1.28 | 1 | |
| 26 | BUSHING.35ILG.63TLG | 2 | |
| 27 | SLEEVE.385X.560X1.30 | 1 | |
| 28 | BUSHING | 1 |
