| № | Наименование | Примечание | Кол-во |
|---|---|---|---|
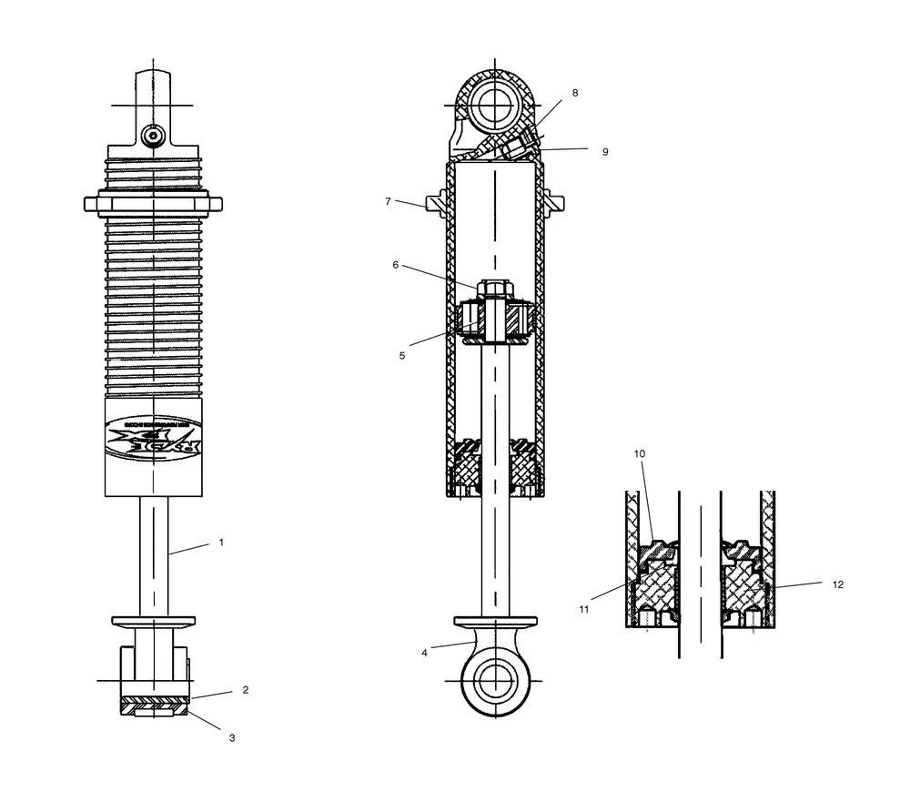
| SHOCK-REAR TRACK | 1 | ||
| 1 | SHAFT | 1 | |
| 2 | SLEEVE-.57"IDX.80"ODX1.20 | 1 | |
| 3 | BUSHING | 2 | |
| 4 | UPPER MOUNT | 1 | |
| 5 | PISTON WEAR BAND | 1 | |
| 5 | TOP-OUT WASHER | 1 | |
| 5 | BACK-UP WASHER | 1 | |
| 5 | ASM.BANDED PISTON .060" ORIFCE | 1 | |
| 6 | NUT | 1 | |
| 7 | NUTSPRING RETAINER | 1 | |
| 8 | VALVE SCREW | 1 | |
| 9 | PRESS-VALVE O-RING (10) (10 per pack) | 1 | |
| 9 | PRESS-VALVE ASSY | 1 | |
| 10 | CYL HEAD ASM 215098-100 | 1 | |
| 12 | CYL HEAD ASSY(1/2" ROD) | 1 |
