| № | Наименование | Примечание | Кол-во |
|---|---|---|---|
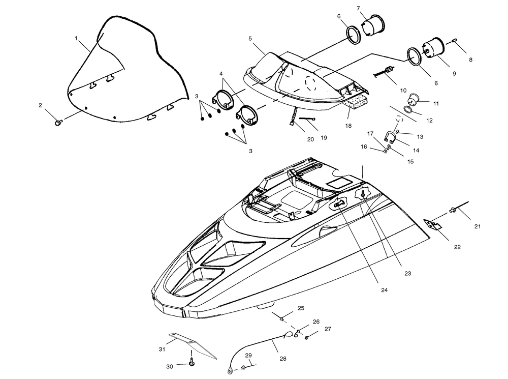
| 1 | WINDSHIELD-17" GEN II | 1 | |
| 2 | RIVETPLASTI-LOCK(50) * (50 per pack) | 3 | |
| 3 | WASHERSPLIT LOCK | 4 | |
| 3 | WASHERFLAT(10) (10 per pack) | 4 | |
| 3 | NUT | 4 | |
| 4 | BRKTTACH/SPEEDO5" | 2 | |
| 5 | ASM-INST HSG600 TRGW/ELECREV [Incl. Warning Decals] | 1 | |
| 6 | CUSHIONTACH/SPEEDORUBBER | 2 | |
| 7 | BULB TAILLIGHT/TACH/SPEEDO (10) (10 per pack) | 3 | |
| 8 | KNOBTRIP ODOMETERLH THD. | 1 | |
| 9 | ASM-SPEEDO5"120 MPHWHT/BK | 1 | |
| 10 | CABLESPEEDO90 IN. | 1 | |
| 11 | FUSE | 1 | |
| 11 | GUAGEFUEL2"BACKLIT | 1 | |
| 12 | CUSHIONFUELGAUGE(2")RUBBER | 1 | |
| 13 | SPACERBRKT(FUELGAUGE) | 2 | |
| 14 | BRACKETFUELGAUGE(2") | 1 | |
| 16 | NUT | 2 | |
| 17 | WASHERSPLITLOCK | 2 | |
| 18 | FOAMPREFILTER | 1 | |
| 19 | CABLE TIE (10) (10 per pack) | 1 | |
| 20 | HARNESS-HEADLIGHTG2 COM E/R | 1 | |
| 21 | RIVET(50) (50 per pack) | 4 | |
| 22 | CUP HOOD LATCH(10) (10 per pack) | 2 | |
| 23 | SCREW .75 | 7 | |
| 24 | RETAINERWINDSHIELD(10) * (10 per pack) | 4 | |
| 25 | RIVET(10)3/16(.251-.375) (10 per pack) | 2 | |
| 26 | CLIPPIGTAIL | 2 | |
| 27 | WASHER | 2 | |
| 28 | CABLEHOODHYB. | 2 | |
| 29 | RIVETPOP(10) (10 per pack) | 2 | |
| 30 | SCREW | 2 | |
| 31 | DEFLECTOR-AIR | 1 |
