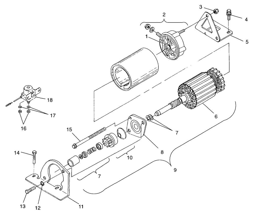
| № | Наименование | Примечание | Кол-во |
|---|---|---|---|
| 1 | KITBRUSH AND SPRING | 1 | |
| 2 | KITCOMMUTATOR CAP ASM. [Incl. 1] | 1 | |
| 3 | NUTNYLOKFLANGED | 3 | |
| 4 | SCREW | 2 | |
| 5 | BRKTREAR STARTER | 1 | |
| 6 | KITARMATURE ASM. | 1 | |
| 7 | KITDRIVE HARDWARE | 1 | |
| 8 | KITDRIVECAP ASM. | 1 | |
| 9 | MOTOR-STARTERDOMESTIC | 1 | |
| 10 | KITDRIVE ASM. | 1 | |
| 11 | BRACKETSTARTERFRONT | 1 | |
| 12 | WASHERSPRING LOCK(10) (10 per pack) | 2 | |
| 13 | SCREW(10) (10 per pack) | 2 | |
| 14 | ASM.SCREW AND WASHER | 2 | |
| 15 | KITSCREW | 1 | |
| 16 | NUT(10) (10 per pack) | 4 | |
| 17 | WASHER SPRING(10) (10 per pack) | 4 | |
| 18 | SWITCH-MAGNETIC [Incl. 23] | 1 |
