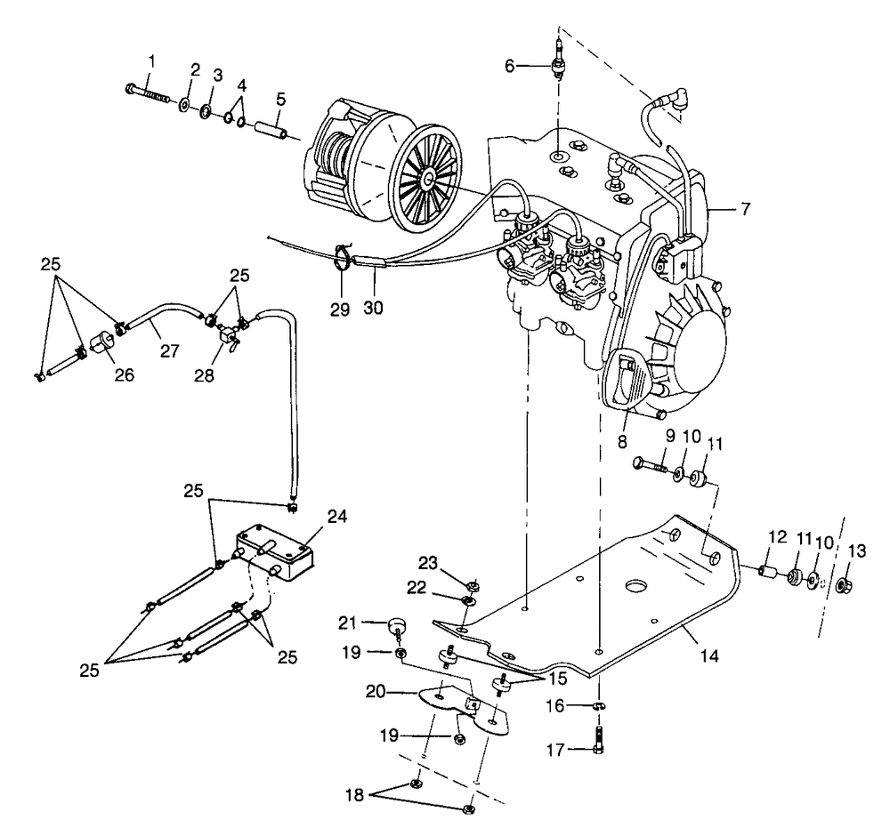
| № | Наименование | Примечание | Кол-во |
|---|---|---|---|
| 1 | BOLT | 1 | |
| 2 | WASHER LOCK | 1 | |
| 3 | WASHERCLUTCH RETAINER | 1 | |
| 4 | O RING(10) (10 per pack) | 2 | |
| 5 | SPACER | 1 | |
| 6 | PLUGSPARKNGK BR8ES(10) (10 per pack) | 2 | |
| 8 | HANDLE-RECOILBLK | 1 | |
| 9 | SCREW | 2 | |
| 10 | WASHER(10) * (10 per pack) | 4 | |
| 12 | TUBESPACER | 2 | |
| 13 | NUTFLANGE | 2 | |
| 14 | PLATEMTR.MTLWT | 1 | |
| 15 | MOUNTENG. | 2 | |
| 16 | WASHERSPRING LOCK | 4 | |
| 17 | BOLT | 4 | |
| 18 | NUTFLEXLOCK | 2 | |
| 19 | NUTHEX | 2 | |
| 20 | LIMITERTORQUETWIN-Z | 1 | |
| 21 | STOPTORQUECOARSE1.94 DIA | 1 | |
| 22 | WASHERFLAT(10) (10 per pack) | 2 | |
| 23 | NUTFLEXLOC | 2 | |
| 25 | CLAMPHOSE(10) (10 per pack) | 12 | |
| 27 | LINE FUEL1/4 ID(600 CM.) | 0 | |
| 28 | VALVEFUEL SHUT-OFF | 1 | |
| 29 | CABLE TIE (10) (10 per pack) | 1 | |
| 30 | SUBSTITUTED BY 9999999 | 1 |
