| № | Наименование | Примечание | Кол-во |
|---|---|---|---|
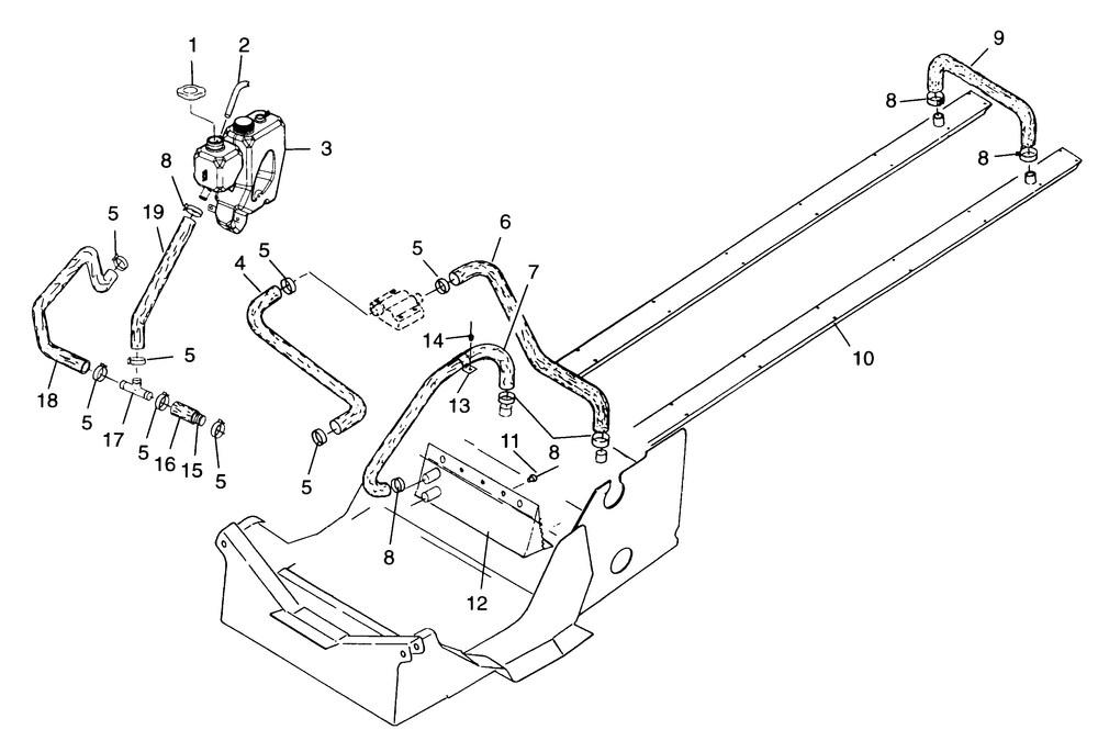
| 2 | LINEFUEL1/4 ID(1525 CM.) [BULK SVC] | 0 | |
| 5 | CLAMPSPRINGBAND 35/12BLK | 8 | |
| 6 | HOSEBRK.COOL/WEARSTRIP | 1 | |
| 8 | CLAMPSPRINGBAND 27/12GREEN | 6 | |
| 9 | HOSER.WEARSTRIPCOOLER | 1 | |
| 10 | WEARSTRIPCOOLER | 2 | |
| 11 | RIVETINTERLOCKB(50) (50 per pack) | 8 | |
| 12 | EXCHANGERCLOSE-OFF | 1 | |
| 13 | CLAMP 1"HOSE | 1 | |
| 14 | POP RIVET(10) (10 per pack) | 1 | |
| 15 | SPRINGHOSE RET4.75 IN. | 1 | |
| 17 | CONNECTOR TEE(1 IN.) | 1 |
