| № | Наименование | Примечание | Кол-во |
|---|---|---|---|
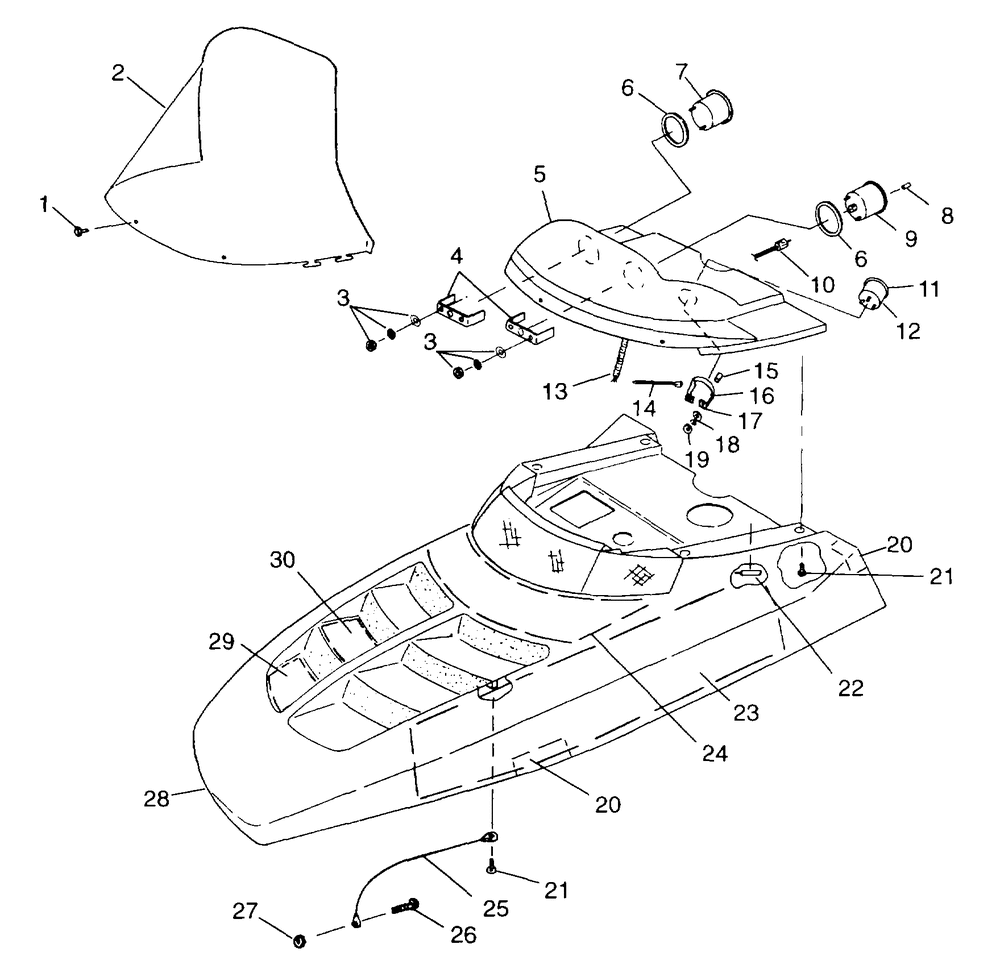
| 1 | RIVETPLASTI-LOCK(50) * (50 per pack) | 3 | |
| 3 | WASHERSPLIT LOCK | 4 | |
| 3 | WASHERFLAT(10) (10 per pack) | 4 | |
| 3 | NUT | 4 | |
| 4 | BRKTTACH/SPEEDO5" | 2 | |
| 6 | CUSHIONTACH/SPEEDORUBBER | 2 | |
| 7 | BULB TAILLIGHT/TACH/SPEEDO (10) (10 per pack) | 3 | |
| 7 | SUBSTITUTED BY 9999999 | 1 | |
| 8 | KNOBTRIP ODOMETERLH THD. | 1 | |
| 10 | CABLESPEEDO. | 1 | |
| 11 | CUSHIONFUELGAUGE(2")RUBBER | 1 | |
| 12 | FUSE | 1 | |
| 14 | CABLE TIE (10) (10 per pack) | 1 | |
| 15 | SPACERBRKT(FUELGAUGE) | 2 | |
| 16 | BRACKETFUELGAUGE(2") | 1 | |
| 18 | WASHERSPLITLOCK | 2 | |
| 19 | NUT | 2 | |
| 20 | FOILTAPE1.5X6 | 4 | |
| 21 | SCREW(10) (10 per pack) | 11 | |
| 22 | RETAINERWINDSHIELD(10) * (10 per pack) | 4 | |
| 25 | CABLEHOOD RETAINER | 2 | |
| 26 | SCREW(10) (10 per pack) | 2 | |
| 27 | NUT FLEXLOC(10) (10 per pack) | 2 |
