| № | Наименование | Примечание | Кол-во |
|---|---|---|---|
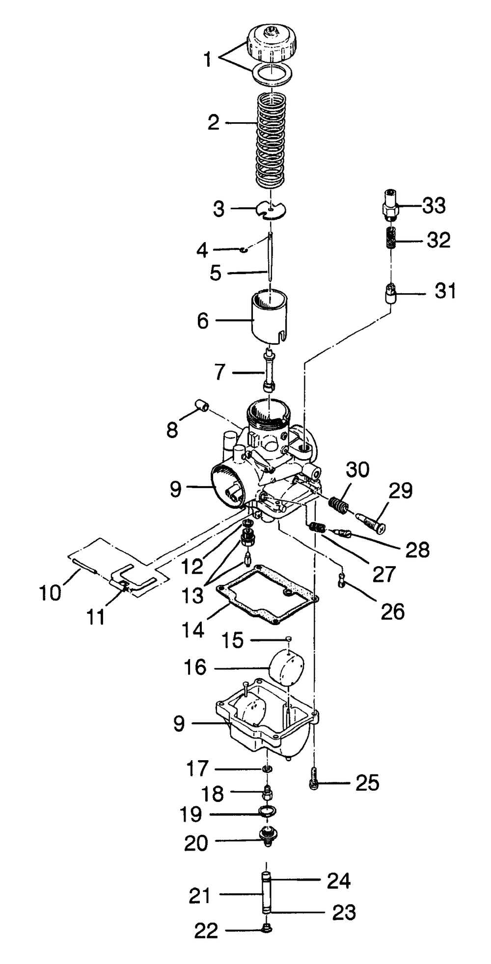
| 1 | ASM.TOP MIXING CHAMBER | 1 | |
| 2 | SPRING THROTTLE | 1 | |
| 3 | PLATETHROTTLE | 1 | |
| 4 | E-RING(10) (10 per pack) | 1 | |
| 5 | NEEDLEJET | 1 | |
| 6 | VALVETHROTTLE3.0 | 1 | |
| 8 | CAP | 1 | |
| 10 | PIN FLOAT | 1 | |
| 11 | ARMFLOAT | 1 | |
| 12 | PACKING NEEDLE VALVE(10) (10 per pack) | 1 | |
| 13 | VALVENEEDLE1.5 (1.5) | 1 | |
| 14 | GASKETFLOAT CHAMBER | 1 | |
| 15 | CAP(10) (10 per pack) | 2 | |
| 16 | FLOAT ASM. | 2 | |
| 17 | WASHER (10) (10 per pack) | 1 | |
| 18 | JETMAINtahos_250(10) (10 per pack) | 1 | |
| 19 | O RING | 1 | |
| 20 | FITTINGSEDIMENT | 1 | |
| 21 | FUEL HSE-5/16 DP SAE J30R9 SVC | 1 | |
| 22 | PLUGTRAP | 1 | |
| 23 | CLAMPHOSE | 1 | |
| 24 | CLAMPHOSE | 1 | |
| 25 | ASM.SCREW & WASHER(10) (10 per pack) | 4 | |
| 26 | JETPILOTtahos_40(10) (10 per pack) | 1 | |
| 27 | SPRINGAIR ADJUST | 1 | |
| 28 | SCREWAIR | 1 | |
| 29 | SCREWTHROTTLE STOP | 1 | |
| 30 | SPRING | 1 | |
| 31 | ASM.PLUNGER | 1 | |
| 32 | SPRINGPLUNGER | 1 | |
| 33 | HOLDERGUIDE | 1 |
