| № | Наименование | Примечание | Кол-во |
|---|---|---|---|
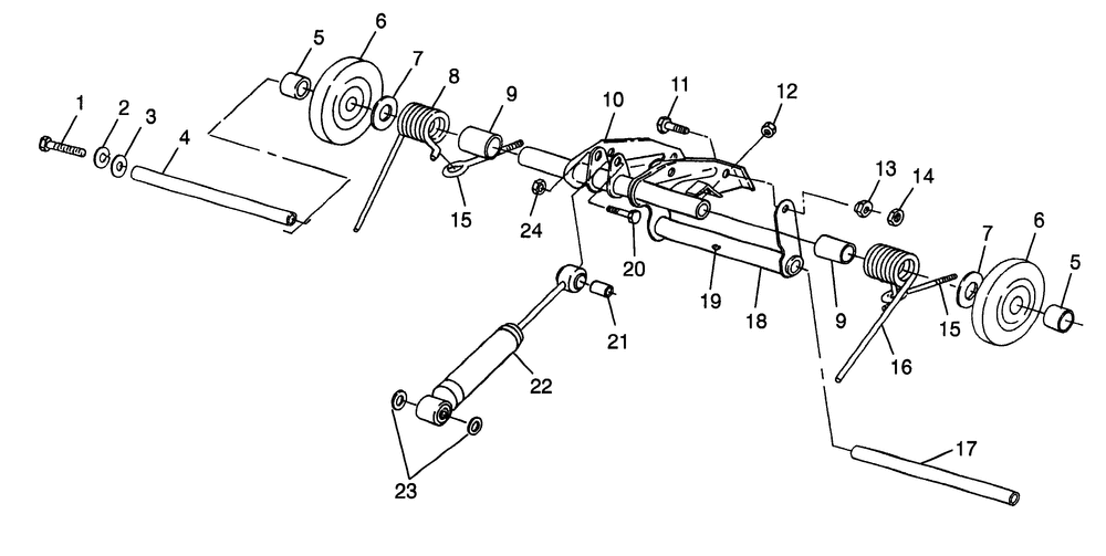
| 1 | SCREW(10) (10 per pack) | 2 | |
| 2 | WASHERSPRING LOCK(10) (10 per pack) | 2 | |
| 3 | WASHERFLAT(10) (10 per pack) | 2 | |
| 4 | SHAFTMTGREAR | 1 | |
| 5 | SPACER-CARR.WHEEL | 2 | |
| 6 | WHEEL-TRACK CARRIER | 2 | |
| 6 | BEARING-5/8I.D. [1 Per] | 0 | |
| 6 | RETAINER | 0 | |
| 7 | WASHER | 2 | |
| 11 | BOLT | 2 | |
| 12 | NUTFLEXLOC | 2 | |
| 13 | NUT SHOULDER | 2 | |
| 14 | NUT LOCK | 2 | |
| 15 | EYEBOLT | 2 | |
| 19 | FITTINGLUBRICATIONTHREADED(10 | 1 | |
| 20 | BOLT | 1 | |
| 21 | SPACER | 1 | |
| 22 | SHOCKREAR TRACK | 1 | |
| 23 | WASHER FLAT | 2 | |
| 24 | NUTNYLOK(10) (10 per pack) | 1 |
