| № | Наименование | Примечание | Кол-во |
|---|---|---|---|
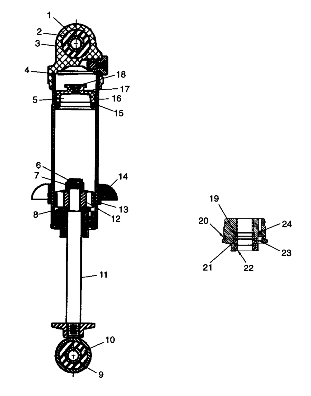
| 2 | BUSHING (1.24) | 2 | |
| 4 | O-RING.103W-1.549ID | 1 | |
| 5 | PISTON | 1 | |
| 6 | NUTLOCK | 1 | |
| 7 | PLATEBACKUP | 1 | |
| 8 | PLATETOP OUT | 1 | |
| 9 | EYELETBASE | 1 | |
| 10 | BUSHING-EYELET.35X.575X.595FOX | 2 | |
| 11 | SHAFT | 1 | |
| 12 | KITVALV.PISTON | 1 | |
| 13 | DAMPER PISTON RING | 1 | |
| 15 | O-RINGENDCAP | 1 | |
| 16 | RINGPISTONFLOATING | 1 | |
| 17 | O-RINGDRUM OUTER | 1 | |
| 18 | SCREW | 1 | |
| 19 | O-RING INNER | 1 | |
| 20 | O-RING.103W-1.299ID | 1 | |
| 21 | U-CUP-4300 URETH036-01-006 | 1 | |
| 22 | SEALWIPER URETHANE (FOX) | 1 | |
| 23 | SCREW | 1 | |
| 24 | BALL (FOX) | 1 |
