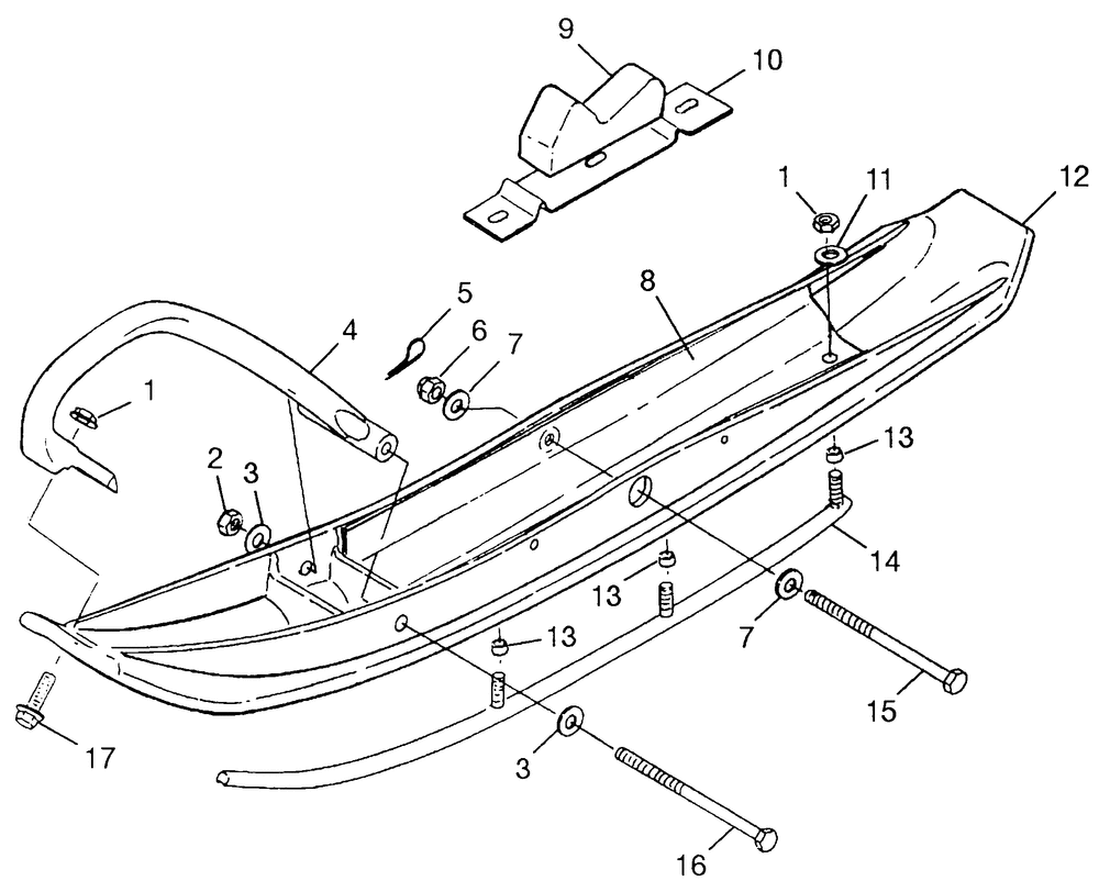
| № | Наименование | Примечание | Кол-во |
|---|---|---|---|
| 1 | NUTFLANGE(10) (10 per pack) | 8 | |
| 3 | WASHER | 6 | |
| 4 | TOE-PLASTIC SKIBLK | 2 | |
| 5 | PIN-COTTER(10) (10 per pack) | 2 | |
| 6 | NUT CASTLE(10) (10 per pack) | 2 | |
| 7 | WASHER | 4 | |
| 8 | ASM-SADDLEROCKEREDBLK | 2 | |
| 9 | STOPRUBBER | 2 | |
| 10 | SUPPORTSKIRUBBERBLK | 2 | |
| 15 | SCREW | 2 | |
| 16 | BOLT | 2 | |
| 17 | BOLT | 2 |
