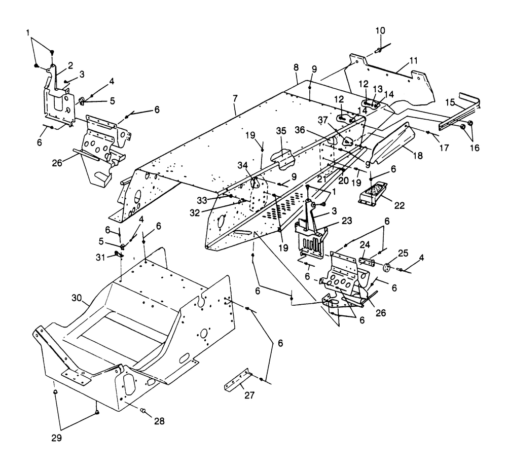
TUNNEL (SKS RMK) 500 SKS 0972564 EUROPEAN 500 SKS E972564 and 500 RMK 097 (4938393839A007)

Корзина пуста