| № | Наименование | Примечание | Кол-во |
|---|---|---|---|
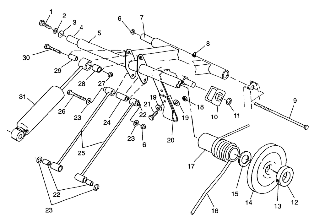
| 1 | BOLT3/8-16X1.25(10) (10 per pack) | 2 | |
| 2 | WASHERSPRING LOCK(10) (10 per pack) | 2 | |
| 3 | WASHERFLAT(10) (10 per pack) | 2 | |
| 4 | SHAFTR.TORQUEUPPER | 1 | |
| 6 | NUTFLEXLOC(10) (10 per pack) | 2 | |
| 8 | FITTINGLUBRICATIONTHREADED(10 | 1 | |
| 9 | SCREW | 1 | |
| 10 | ROLLER SPRING ADJ. | 2 | |
| 11 | CLIPPUSH ON(10) (10 per pack) | 2 | |
| 13 | SCREW-SOCKETSET | 4 | |
| 14 | WHEEL CARRIER | 2 | |
| 15 | WASHER | 2 | |
| 16 | SPRINGLHTORS(.421DIA) [.421] [Opt.] | 1 | |
| 16 | SPRINGRHTORS(.421DIA) [.421] [Opt.] | 1 | |
| 16 | SPRINGRHTORS(.406DIA) [.406] [Opt.] | 1 | |
| 16 | SPRINGLHTORS(.437/77) [.437] [Std.] | 1 | |
| 16 | SPRINGRHTORS(.437/77) [.437] [Std.] | 1 | |
| 17 | SLEEVETORSION SPRING | 2 | |
| 18 | NUTNYLOK(10) (10 per pack) | 2 | |
| 19 | WASHER | 4 | |
| 21 | BOLT | 2 | |
| 22 | BUSHINGPIVOT TUBE | 4 | |
| 23 | WASHERWAVE SPRING(10) (10 per pack) | 4 | |
| 24 | SPACER | 1 | |
| 26 | BOLT | 1 | |
| 27 | NUT FLEX-LOC | 1 | |
| 28 | BUSHING* | 1 | |
| 29 | BUSHINGR.SHOCK | 1 | |
| 30 | BOLT | 1 | |
| 31 | SHOCKGASADJR.TRACK | 1 |
