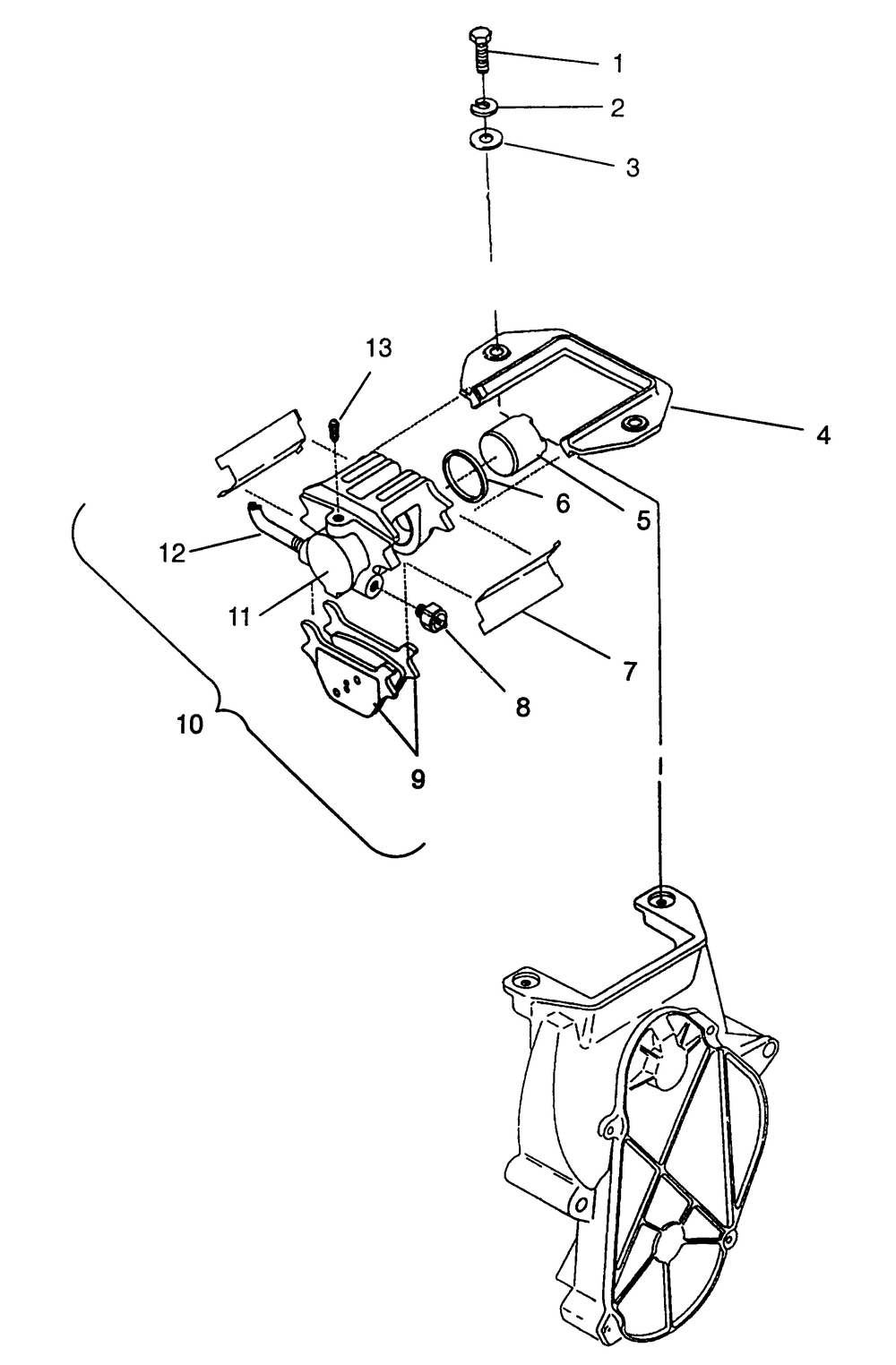
| № | Наименование | Примечание | Кол-во |
|---|---|---|---|
| 1 | BOLT | 2 | |
| 2 | WASHERSPRING LOCK(10) (10 per pack) | 2 | |
| 3 | WASHERFLAT(10) (10 per pack) | 2 | |
| 6 | SEAL | 1 | |
| 8 | SWITCHSTOPLIGHT | 1 | |
| 9 | SUBSTITUTED BY 9999999 (Incl. 10) | 1 | |
| 9 | KITBRAKEPAD TYPE 81(SMALL) (Incl. 10) | 1 | |
| 13 | KIT INLET | 1 |
| Корзина пуста |
| № | Наименование | Примечание | Кол-во |
|---|---|---|---|
| 1 | BOLT | 2 | |
| 2 | WASHERSPRING LOCK(10) (10 per pack) | 2 | |
| 3 | WASHERFLAT(10) (10 per pack) | 2 | |
| 6 | SEAL | 1 | |
| 8 | SWITCHSTOPLIGHT | 1 | |
| 9 | SUBSTITUTED BY 9999999 (Incl. 10) | 1 | |
| 9 | KITBRAKEPAD TYPE 81(SMALL) (Incl. 10) | 1 | |
| 13 | KIT INLET | 1 |