| № | Наименование | Примечание | Кол-во |
|---|---|---|---|
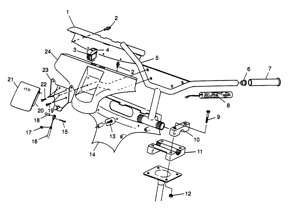
| 2 | RIVETPLASTI-LOCK(50) * (50 per pack) | 8 | |
| 3 | SWITCHH'WARMERHI-LOW | 2 | |
| 5 | HANDLEBARADJBLK. | 1 | |
| 6 | CAPLUG | 2 | |
| 7 | GRIPHANDLEBAR | 2 | |
| 8 | GRIP-HEATER ASMHI/LO | 2 | |
| 9 | SCREW | 4 | |
| 11 | BLOCKHANDLEBARBLK | 1 | |
| 12 | NUT-NYLOK(10) (10 per pack) | 4 | |
| 13 | SCREW(10) (10 per pack) | 4 | |
| 15 | PIN-COTTER(10) (10 per pack) | 1 | |
| 17 | RINGRETAIN.EXT | 1 | |
| 20 | PIN SPRING(10) (10 per pack) | 2 | |
| 21 | LEVER ASMSHIFTBLK. (Incl. 21) | 1 | |
| 22 | SCREW | 2 | |
| 24 | COVERH'BARUPPER | 1 |
