| № | Наименование | Примечание | Кол-во |
|---|---|---|---|
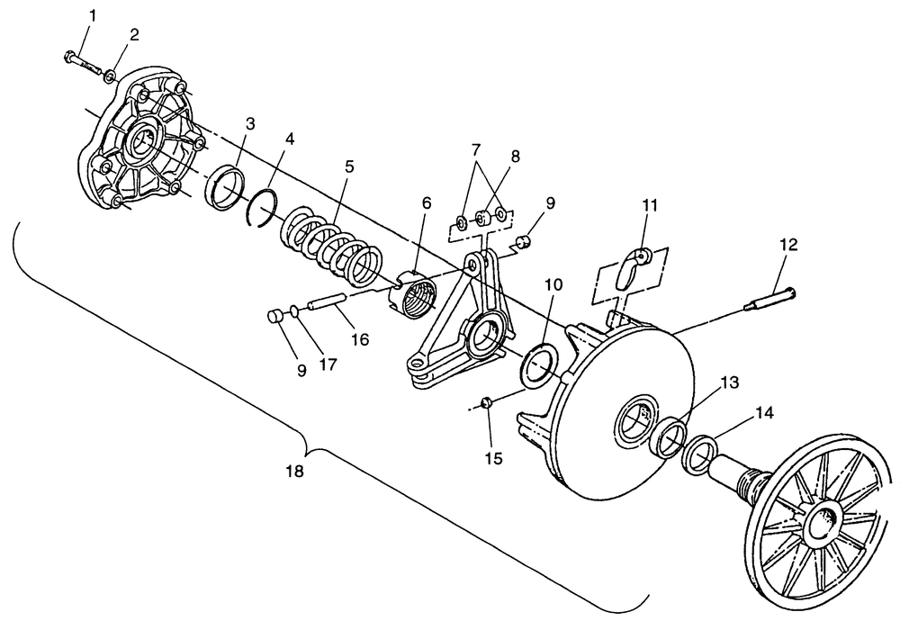
| 1 | BOLT | 6 | |
| 2 | WASHER SPRING LOCK(10) (10 per pack) | 6 | |
| 3 | BEARINGCOVER | 1 | |
| 4 | RINGRETAININGCOVER(10) * (10 per pack) | 1 | |
| 5 | SPRING-CLUTCH(ALMOND/ROUND) | 1 | |
| 6 | NUT JAM | 1 | |
| 7 | WASHER(10) (10 per pack) | 6 | |
| 8 | ASM.ROLLER AND BUSHING(3) (3 per pack) | 3 | |
| 9 | BUTTON GUIDE(10) .245" (10 per pack) | 6 | |
| 10 | SPACER.020(10) (10 per pack) | 0 | |
| 10 | SPACER.032 | 0 | |
| 10 | SPACER.050 | 0 | |
| 11 | WT/BUSH.ASM10-54(3) [600] (3 per pack) | 1 | |
| 12 | PIN WT.HARDENED(10) (10 per pack) | 3 | |
| 13 | BEARINGSLEEVE | 1 | |
| 14 | INSERTMOVEABLE | 1 | |
| 15 | NUT FLEXLOC(10) (10 per pack) | 3 | |
| 16 | PIN-ROLLER(10) (10 per pack) | 3 | |
| 17 | KITSHIMDRIVE CLUTCH | 1 |
