| № | Наименование | Примечание | Кол-во |
|---|---|---|---|
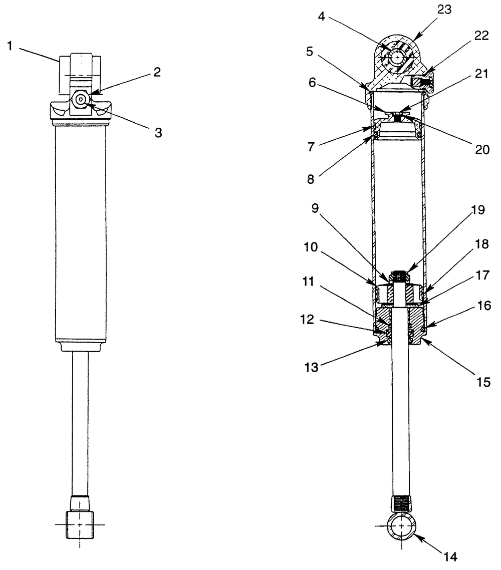
| 1 | BUSHINGEYELET | 2 | |
| 2 | VALVE ASMAIR | 1 | |
| 3 | SCREW | 1 | |
| 4 | BUSHING 1.40 | 1 | |
| 5 | O-RING.103W-1.549ID | 1 | |
| 6 | PISTON | 1 | |
| 7 | RINGPISTONFLOATING | 1 | |
| 8 | O-RINGENDCAP | 1 | |
| 9 | PLATEBACKUP | 1 | |
| 10 | PISTON | 1 | |
| 11 | O-RING INNER | 1 | |
| 12 | U-CUP-4300 URETH036-01-006 | 1 | |
| 13 | SEALWIPER URETHANE (FOX) | 1 | |
| 14 | EYELET-.88W 1.38TLG 808-05-002 | 1 | |
| 16 | O-RING.103W-1.299ID | 1 | |
| 17 | PLATETOP OUT | 1 | |
| 18 | DAMPER PISTON RING | 1 | |
| 19 | NUTLOCK | 1 | |
| 20 | O-RINGDRUM OUTER | 1 | |
| 21 | SCREW | 1 | |
| 22 | O-RINGOUTER | 1 |
