| № | Наименование | Примечание | Кол-во |
|---|---|---|---|
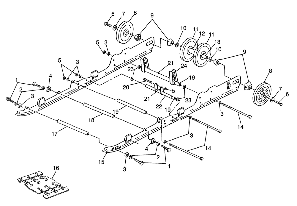
| 1 | SCREW(10) (10 per pack) | 4 | |
| 2 | WASHERSPRING LOCK(10) (10 per pack) | 4 | |
| 3 | WASHERFLAT(10) (10 per pack) | 10 | |
| 5 | NUTFLEXLOC(10) (10 per pack) | 3 | |
| 6 | BOLT3/8-16X1.25(10) (10 per pack) | 2 | |
| 7 | WASHER-.406X1.25X.125 (10) (10 per pack) | 2 | |
| 8 | WHEELIDLERBLK(20MM) | 2 | |
| 9 | SPACERIDLER | 4 | |
| 10 | BUSHING(10) (10 per pack) | 2 | |
| 12 | SPACERIDLERCTR. | 1 | |
| 13 | SHAFTIDLER | 1 | |
| 14 | SCREW | 3 | |
| 15 | SUBSTITUTED BY 9999999 | 2 | |
| 16 | CLIP SLIDE | 1 | |
| 16 | CLIP GUIDE | 0 | |
| 17 | SHAFTPIVOT ARM | 1 | |
| 18 | SHAFTPIVOT ARM | 1 | |
| 19 | SHAFT | 3 | |
| 20 | BOLT | 1 | |
| 21 | FITTINGLUBRICATIONTHREADED(10 | 2 | |
| 23 | WASHERFLAT(10) (10 per pack) | 2 |
