| № | Наименование | Примечание | Кол-во |
|---|---|---|---|
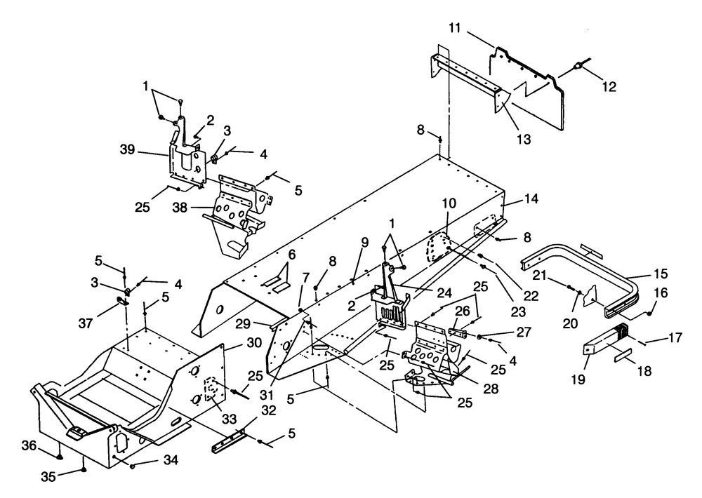
| 1 | BUMPERHOOD | 4 | |
| 2 | SCREW | 4 | |
| 3 | GUIDE RECOIL | 2 | |
| 4 | RIVET3/16X.402(50) (50 per pack) | 5 | |
| 5 | RIVETINTERLOCKZ(50) * (50 per pack) | 31 | |
| 7 | SNAP-MALE | 2 | |
| 8 | RIVETSEMI-TUBE(10) (10 per pack) | 56 | |
| 10 | PADLHRR SUSP(X12)BLK | 1 | |
| 10 | PADRHRR SUSP(X12)BLK | 1 | |
| 12 | RIVETPOP(50)* (50 per pack) | 5 | |
| 16 | NUT-NYLOK(10) (10 per pack) | 4 | |
| 17 | SCREW | 4 | |
| 18 | REFLECTOR RED [CGBA ONLY] | 2 | |
| 19 | CAP BUMPER BLK. | 2 | |
| 20 | WASHER FLAT(10) * (10 per pack) | 4 | |
| 21 | BOLT | 4 | |
| 22 | RIVETSEMI-TUBE(50) (50 per pack) | 31 | |
| 23 | RIVET(10) (10 per pack) | 4 | |
| 24 | MTCONSOLELH | 1 | |
| 25 | RIVETINTERLOCKB(50) (50 per pack) | 123 | |
| 26 | SUPPORTBUMPERSIDEBLK. | 2 | |
| 30 | BULKHEAD | 1 | |
| 31 | RIVET(10) (10 per pack) | 2 | |
| 32 | GUARDADAPTER GUIDE | 1 | |
| 33 | MOUNTLHF.SUSP.BLK. | 1 | |
| 33 | MOUNTRHF.SUSP.BLK. | 1 | |
| 34 | PLUG HOLE | 2 | |
| 35 | PLUG HOLE | 2 | |
| 36 | BUSHINGOPEN/CLOSE | 1 | |
| 37 | BRKTROPE GUIDEBLK. | 1 | |
| 39 | MTCONSOLERH | 1 |
