| № | Наименование | Примечание | Кол-во |
|---|---|---|---|
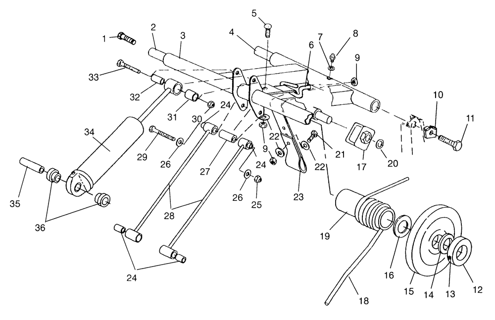
| 1 | BOLTNYLOCBLACK | 2 | |
| 2 | SHAFTR.TORQUEUPPER | 1 | |
| 4 | SHAFTLOWRRTORQUE | 1 | |
| 5 | BOLTCARRIAGE | 1 | |
| 6 | BOLTEYE | 1 | |
| 7 | FITTINGLUBRICATIONTHREADED(10 | 1 | |
| 8 | WASHER | 1 | |
| 9 | NUTFLANGE(10) (10 per pack) | 1 | |
| 11 | BOLT3/8-16X1.25(10) (10 per pack) | 2 | |
| 13 | SCREW-SOCKETSET | 4 | |
| 14 | WASHER | 4 | |
| 15 | WHEEL CARRIER | 2 | |
| 16 | WASHER | 2 | |
| 17 | ROLLER SPRING ADJ. | 2 | |
| 18 | SPRINGLHTORS(.421DIA) [.421] [Opt.] | 1 | |
| 18 | SPRINGRHTORS(.421DIA) [.421] [Opt.] | 1 | |
| 18 | SPRINGRHTORS(.406DIA) [.406] [Opt.] | 1 | |
| 18 | SPRINGLHTORS(.437/77) [.437] [Std.] | 1 | |
| 18 | SPRINGRHTORS(.437/77) [.437] [Std.] | 1 | |
| 19 | SLEEVETORSION SPRING | 2 | |
| 20 | CLIPPUSH ON(10) (10 per pack) | 2 | |
| 21 | BOLT | 2 | |
| 22 | WASHER | 4 | |
| 24 | BUSHINGPIVOT TUBE | 4 | |
| 25 | NUTFLEXLOC(10) (10 per pack) | 1 | |
| 26 | WASHERWAVE SPRING(10) (10 per pack) | 4 | |
| 27 | SPACER | 1 | |
| 29 | BOLT | 1 | |
| 30 | NUT FLEX-LOC | 1 | |
| 31 | BUSHING* | 1 | |
| 32 | BUSHINGR.SHOCK | 1 | |
| 33 | BOLT | 1 |
