| № | Наименование | Примечание | Кол-во |
|---|---|---|---|
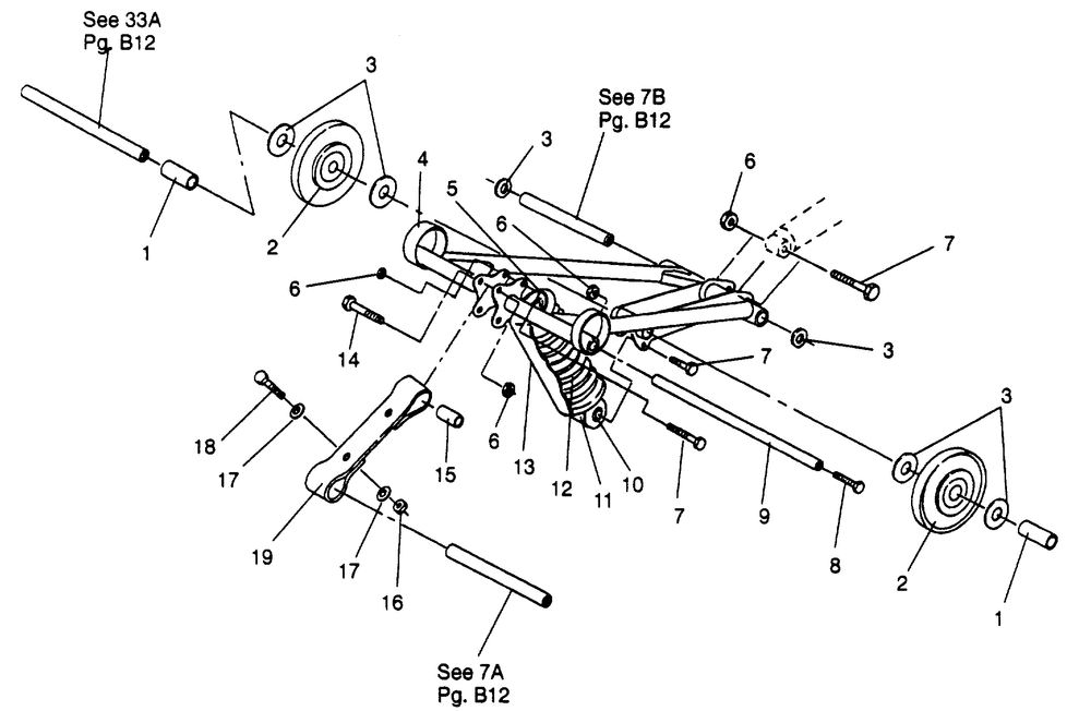
| 3 | BUSHING(10) (10 per pack) | 4 | |
| 5 | RETAINER-TOP | 1 | |
| 6 | NUTNYLOK(10) (10 per pack) | 3 | |
| 7 | SCREW(10) (10 per pack) | 2 | |
| 8 | BOLTNYLOCBLACK | 2 | |
| 9 | SHAFTMOUNTING | 1 | |
| 10 | SHOCK-SUSP | 1 | |
| 11 | RETAINERSPRING | 1 | |
| 13 | SHIELD-SPRING | 1 | |
| 14 | BOLT | 1 | |
| 16 | NUTNYLOK(10) (10 per pack) | 2 | |
| 17 | WASHER | 4 | |
| 18 | BOLT | 2 | |
| 19 | STRAP LIMITER | 1 |
