| № | Наименование | Примечание | Кол-во |
|---|---|---|---|
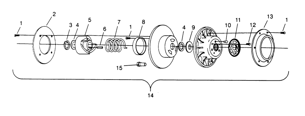
| 1 | SCREW | 4 | |
| 2 | PLATE | 1 | |
| 3 | RINGRETAINING | 1 | |
| 4 | WSHR-1.505X2.00X.030-Y | 1 | |
| 5 | RAMPDRIVEN36 DEGREE | 1 | |
| 6 | KEY SQUARE | 1 | |
| 7 | SPRINGCLUTCH(RED) | 1 | |
| 8 | BUSHING-DRIVEN LARGE DU | 1 | |
| 10 | PIN-ADJUSTABLE DRIVEN | 3 | |
| 11 | CAMDRIVENADJUSTABLE | 1 | |
| 12 | SCREW | 3 | |
| 14 | ASM-DRIVEN CLUTCHBSC203 N/B (Incl. 1-14) | 1 | |
| 15 | BUTTON-RAMP(10) (10 per pack) | 3 |
