| № | Наименование | Примечание | Кол-во |
|---|---|---|---|
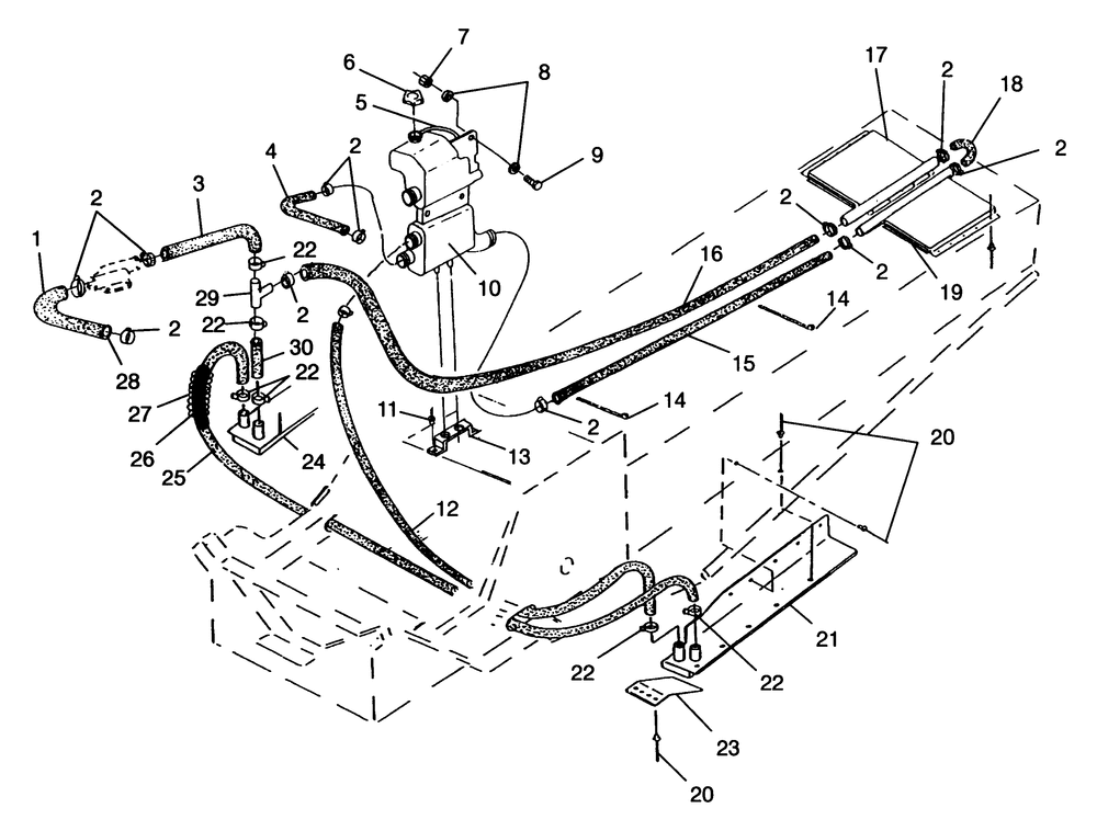
| 2 | CLAMPSPRINGBAND 35/12BLK | 12 | |
| 3 | HOSER.COOLER3-WAY | 0 | |
| 5 | LINEFUEL1/4 ID(1525 CM.) [BULK SVC] | 0 | |
| 6 | CAP PRESSURE(13 LB) *** | 1 | |
| 7 | NUT-NYLOK(10) (10 per pack) | 1 | |
| 8 | WASHERWROUGHT | 2 | |
| 9 | BOLT | 1 | |
| 11 | RIVETINTERLOCKZ(50) * (50 per pack) | 22 | |
| 13 | BRKTSURGE TANKCOINED | 1 | |
| 14 | CABLE TIE (10) (10 per pack) | 2 | |
| 15 | HOSE(1" X 10 FT.) | 1 | |
| 16 | HOSE3-WAYR.COOLER | 1 | |
| 17 | EXCHANGERR.COOLING | 2 | |
| 20 | RIVETINTERLOCKB(50) (50 per pack) | 28 | |
| 21 | COOLERLHSIDE(XTRA 10) | 1 | |
| 22 | CLAMPSPRINGBAND 27/12GREEN | 4 | |
| 23 | GUARD COOL.EXT. | 2 | |
| 24 | COOLERRHSIDE(XTRA 10) | 1 | |
| 26 | TUBINGCONVOL1"X2.5" | 1 | |
| 27 | SPRINGHOSE RETAINER | 1 | |
| 29 | CONNECTOR3/4"SPLICEBARBED | 1 |
