| № | Наименование | Примечание | Кол-во |
|---|---|---|---|
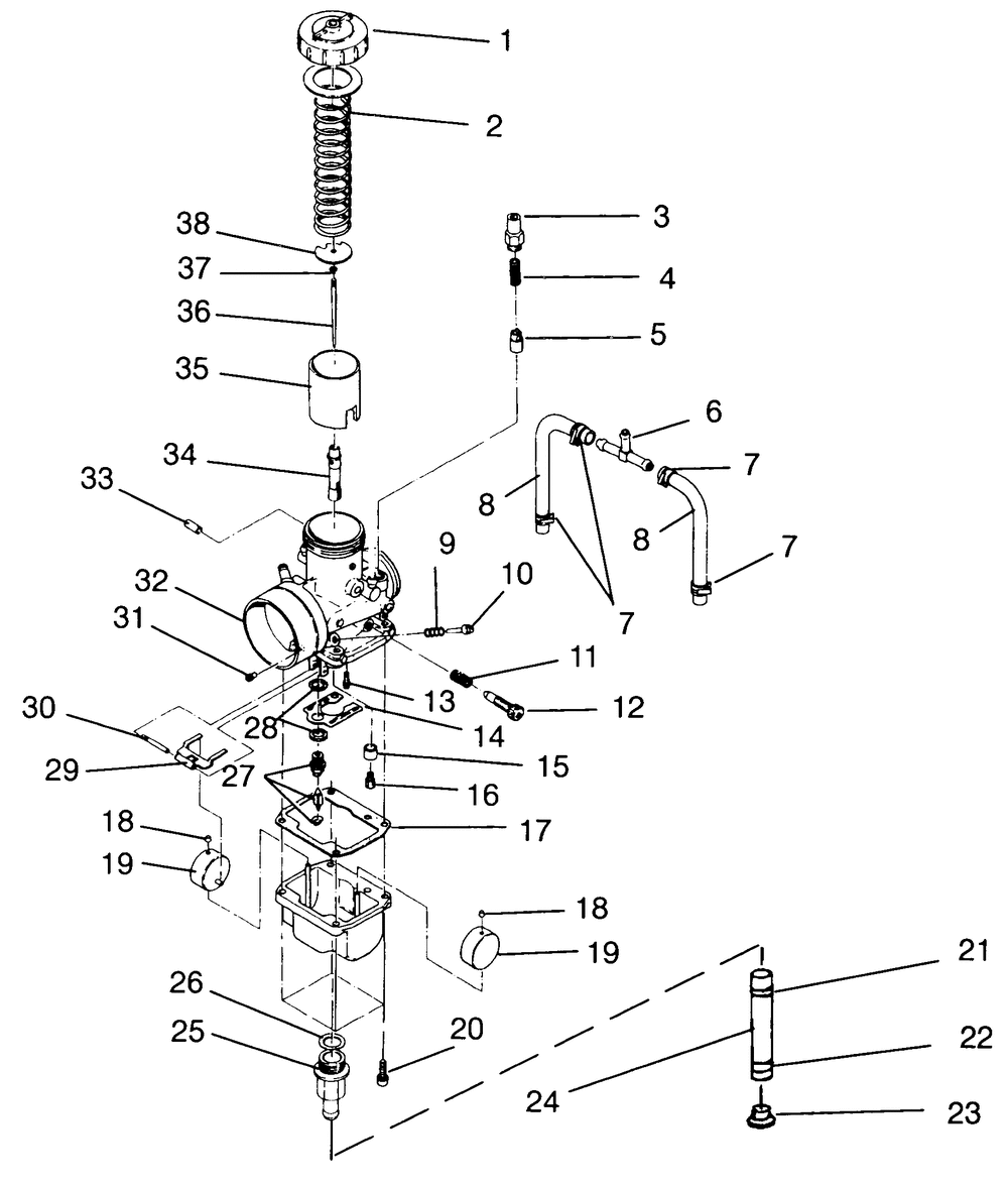
| 2 | SPRINGTHROTTLE | 1 | |
| 3 | HOLDERGUIDE | 1 | |
| 4 | SPRINGPLUNGER | 1 | |
| 5 | ASM.PLUNGER | 1 | |
| 6 | NIPPLE [PTO] | 1 | |
| 9 | SPRINGAIR ADJUST | 1 | |
| 10 | SCREWAIR | 1 | |
| 11 | SPRING | 1 | |
| 12 | SCREWTHROTTLE STOP | 1 | |
| 13 | JETPILOTtahos_50 | 1 | |
| 15 | RINGCARB | 1 | |
| 16 | JETMAINHX.HDtahos_340(10) (tahos_340) (10 per pack) | 1 | |
| 17 | GASKETFLOAT CHAMBER | 1 | |
| 18 | CAP(10) (10 per pack) | 2 | |
| 19 | ASM.FLOAT | 2 | |
| 20 | SCREW | 4 | |
| 21 | CLAMPHOSE | 1 | |
| 22 | CLAMPHOSE | 1 | |
| 23 | PLUGTRAP | 1 | |
| 24 | FUEL HSE-5/16 DP SAE J30R9 SVC | 1 | |
| 25 | NIPPLE | 1 | |
| 26 | O RING | 1 | |
| 27 | VALVE ASMNEEDLE | 1 | |
| 28 | WASHER(10) (10 per pack) | 2 | |
| 29 | ARMFLOAT | 1 | |
| 30 | PIN FLOAT | 1 | |
| 33 | CAP | 1 | |
| 37 | E-RING(10) (10 per pack) | 1 | |
| 38 | PLATE THROTTLE | 1 |
