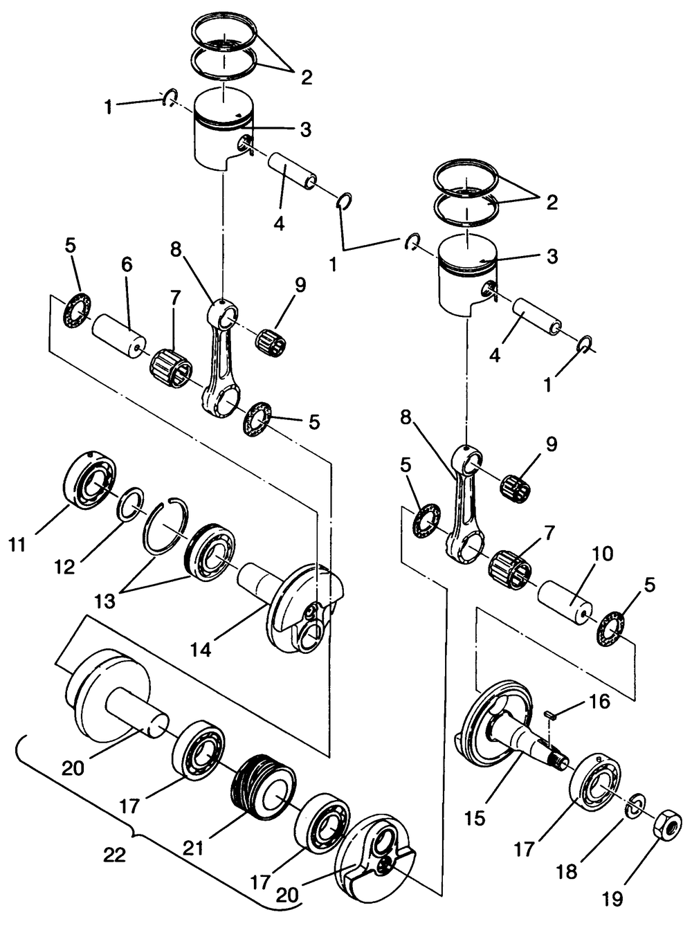
| № | Наименование | Примечание | Кол-во |
|---|---|---|---|
| 1 | CLIPPISTON PIN(10) (10 per pack) | 4 | |
| 2 | PISTONRINGSTANDARD(2) (2 per pack) | 4 | |
| 2 | PISTONRING.010"/.25MM | 4 | |
| 2 | PISTONRING.020"/.50 MM O/S (2 | 4 | |
| 3 | SETPISTON.010"/.25MM O/S [Incl. 1] | 2 | |
| 3 | SETPISTON.020"/.50MM O/S [Incl. 1] | 2 | |
| 4 | PIN PISTON | 2 | |
| 5 | SPACERCRANKPIN | 4 | |
| 6 | PIN CRANK 2 | 1 | |
| 7 | BEARINGLARGE END * | 2 | |
| 8 | ROD-CONNECTING * | 2 | |
| 9 | BEARING SMALL END | 2 | |
| 10 | PINCRANK 1 | 1 | |
| 11 | BALL BEARING | 1 | |
| 12 | SPACER | 1 | |
| 13 | BALL BEARING | 1 | |
| 14 | CRANKSHAFT 3PTO [PTO Side] | 1 | |
| 16 | KEY | 1 | |
| 17 | BEARING BALL | 3 | |
| 18 | WASHER-SPRING(10) (10 per pack) | 1 | |
| 19 | NUT | 1 | |
| 20 | CRANKSHAFT 2 [Incl. 610] | 1 | |
| 21 | GEARDRIVEOIL PUMP | 1 | |
| 22 | CRANKSHAFT ASM (Incl. 5-810-14161720) | 1 |
