| № | Наименование | Примечание | Кол-во |
|---|---|---|---|
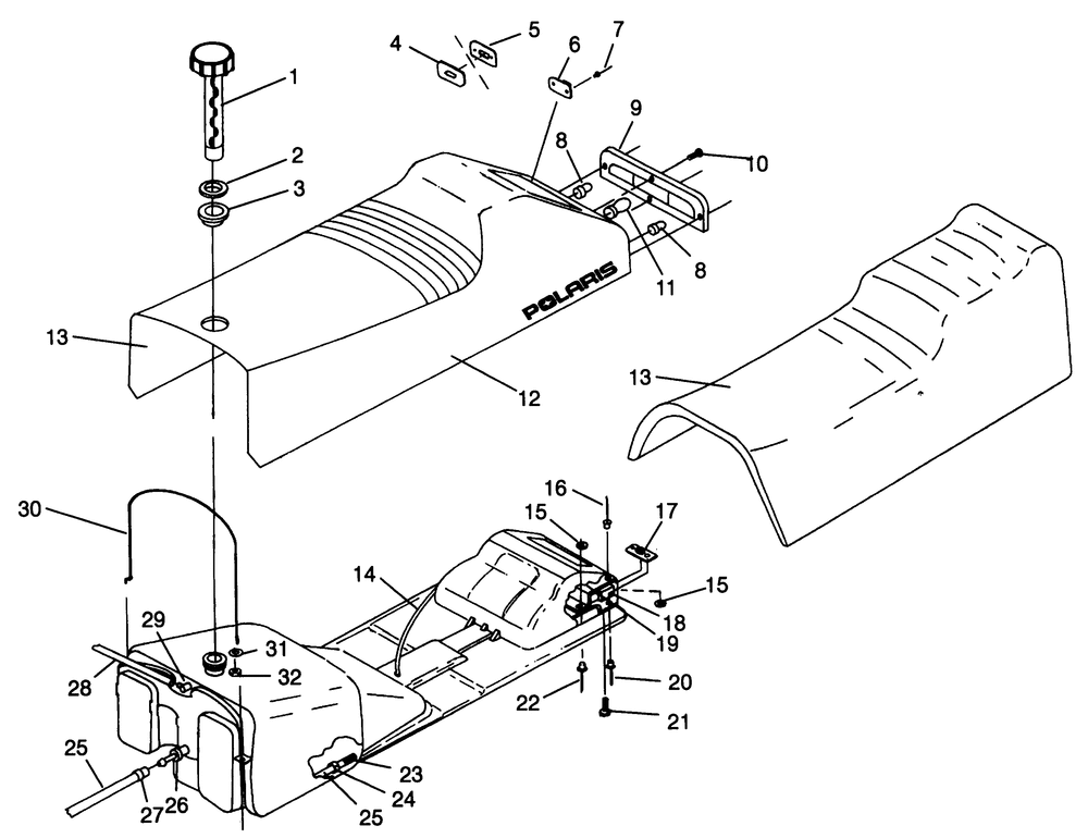
| 1 | CAPGASW/GAUGE | 1 | |
| 2 | GASKET GAS CAP | 1 | |
| 3 | GROMMETFUELTANK | 1 | |
| 4 | GROMMETRELATCH1"BOTT. | 2 | |
| 5 | GROMMETRELATCH1"TOP | 2 | |
| 6 | TWISTLOCKRELATCH1"W/HOLE(10) (10 per pack) | 2 | |
| 7 | RIVET(10) (10 per pack) | 4 | |
| 8 | BULBTAILLIGHT(10) (10 per pack) | 2 | |
| 10 | SCREW(10) (10 per pack) | 4 | |
| 11 | BULB | 1 | |
| 12 | ASM-SEAT COVER2-UP (Euro) | 1 | |
| 15 | WASHER | 6 | |
| 16 | RIVET BLIND(50) * (50 per pack) | 3 | |
| 17 | NUTRETAINER-WELD. | 2 | |
| 18 | HOUSING-TAILLIGHT | 1 | |
| 19 | COVERT/L PROTECTOR | 1 | |
| 20 | RIVET(10) (10 per pack) | 4 | |
| 21 | SCREW(10) (10 per pack) | 2 | |
| 22 | RIVET(10) ALUM. (10 per pack) | 2 | |
| 23 | PICK-UP-FUELW/FILTER105MICRN | 1 | |
| 24 | RING COMPRESSION | 2 | |
| 25 | LINEFUEL1/4 ID(1525 CM.) [BULK SVC] | 0 | |
| 26 | FITTING - OUTLET | 1 | |
| 27 | CLAMPHOSE(10) (10 per pack) | 2 | |
| 28 | LINEFUEL1/8 ID600 CM. | 0 | |
| 29 | FITTING90 DEG1/8 | 1 | |
| 32 | NUT NYLOK 10-24 Y | 1 |
