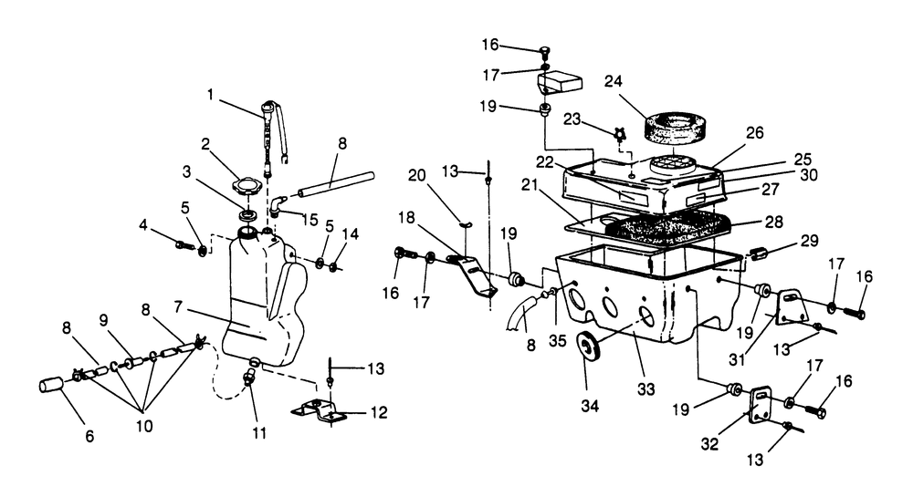
| № | Наименование | Примечание | Кол-во |
|---|---|---|---|
| 1 | SENSOROIL LEVELW/CONN. | 1 | |
| 2 | CAPOIL TANK | 1 | |
| 3 | GASKET-OIL CAP | 1 | |
| 4 | BOLT | 1 | |
| 5 | WASHERWROUGHT | 1 | |
| 6 | CONDUITCONVOLUTED(30 CM) | 1 | |
| 8 | LINEFUEL1/8 ID600 CM. | 0 | |
| 9 | FILTERSMALLIN-LINE(10) (10 per pack) | 1 | |
| 10 | CLAMPHOSE(10) (10 per pack) | 4 | |
| 11 | FITTING OUTLET | 1 | |
| 12 | BRKTOILTANKCOINED | 1 | |
| 13 | RIVETINTERLOCKZ(50) * (50 per pack) | 8 | |
| 14 | NUT-NYLOK(10) (10 per pack) | 1 | |
| 15 | FITTING90 DEG1/8 | 1 | |
| 16 | SCREW(10) * (10 per pack) | 5 | |
| 17 | WASHER(10) (10 per pack) | 5 | |
| 19 | NUT-WELL(10) * (10 per pack) | 5 | |
| 23 | CLAMPWIRE ROUTING | 1 | |
| 24 | DUCT ASMAIR | 1 | |
| 25 | DECALCAUTION | 1 | |
| 29 | CLIP AIR BOX | 10 | |
| 31 | BRACKET SILENCER | 1 | |
| 34 | BOOTAIR SILENCER MOD. | 3 | |
| 35 | FITTING | 3 |
