| № | Наименование | Примечание | Кол-во |
|---|---|---|---|
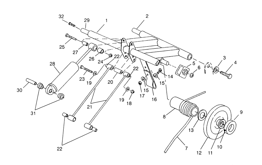
| 3 | WASHERSPRING LOCK(10) (10 per pack) | 2 | |
| 4 | BOLT3/8-16X1.25(10) (10 per pack) | 2 | |
| 5 | ROLLER SPRING ADJ. | 1 | |
| 6 | CLIPPUSH ON(10) (10 per pack) | 2 | |
| 10 | SCREW-SOCKETSET | 2 | |
| 11 | WASHER-WAVE | 4 | |
| 12 | WHEEL CARRIER | 2 | |
| 13 | BUSHING(10) (10 per pack) | 2 | |
| 14 | BOLT(10) * (10 per pack) | 2 | |
| 15 | WASHER(10) (10 per pack) | 4 | |
| 17 | NUTFLEXLOC | 1 | |
| 18 | NUTFLEXLOC | 1 | |
| 19 | WASHERFLAT(10) (10 per pack) | 2 | |
| 20 | SPACERR.PIVOT ARM | 1 | |
| 22 | SPACER | 2 | |
| 23 | SCREW | 1 | |
| 24 | NUTNYLOK(10) (10 per pack) | 1 | |
| 25 | BOLT | 1 | |
| 26 | BUSHING* | 1 | |
| 27 | BUSHINGR.SHOCK | 1 | |
| 30 | BUSHING 1.40 | 1 | |
| 31 | BUSHINGSHOCK.340 | 2 | |
| 32 | BOLTNYLOCBLACK | 2 |
