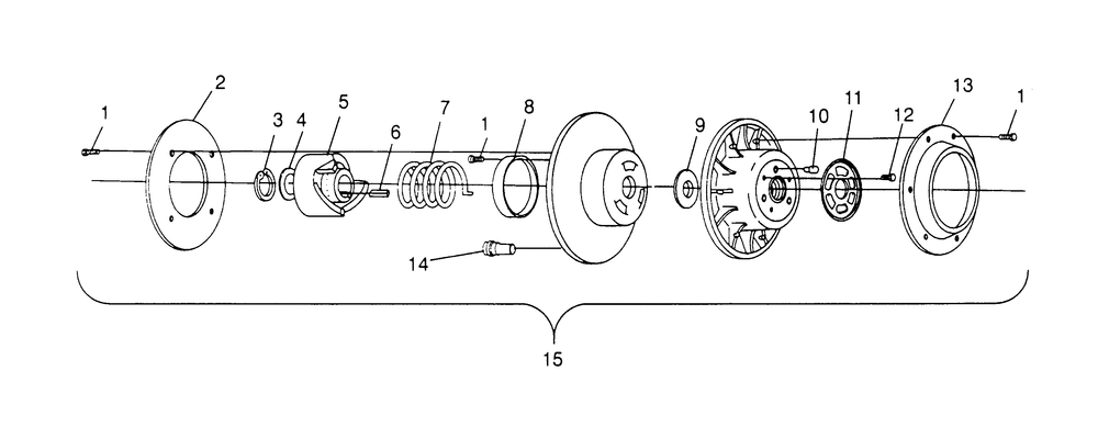
DRIVEN CLUTCH ASSEMBLY 440 XCR 0951660 (4929112911C002)

Корзина пуста