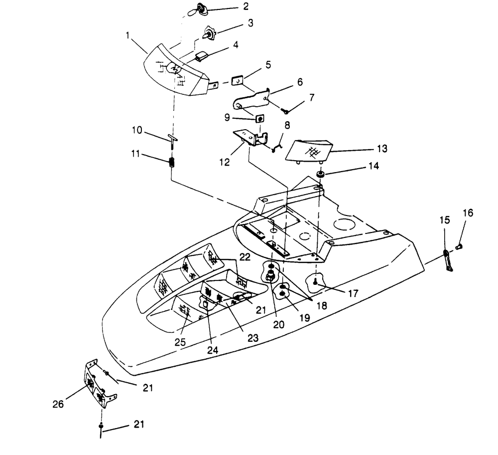
HOOD - HEADLIGHT ASSEMBLY 500 EFI 0952774 EFI SKS 0952574 EFI SKS PT 0 (4929052905B001)

Корзина пуста