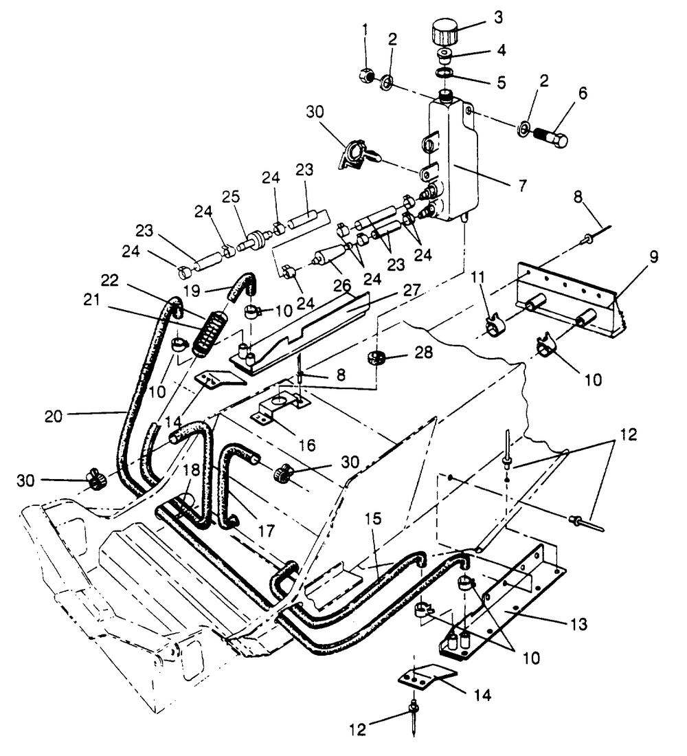
| № | Наименование | Примечание | Кол-во |
|---|---|---|---|
| 1 | NUT-NYLOK(10) (10 per pack) | 1 | |
| 2 | WASHERWROUGHT | 2 | |
| 3 | CAP OVERFLOW | 1 | |
| 4 | PLUG | 1 | |
| 5 | GASKET (10) (10 per pack) | 1 | |
| 6 | BOLT | 1 | |
| 7 | BOTTLE-OVERFLOWW/FITTINGS | 1 | |
| 8 | RIVETINTERLOCKZ(50) * (50 per pack) | 19 | |
| 9 | EXCHANGER WELDCTR. | 1 | |
| 10 | CLAMPSPRINGBAND 27/12GREEN | 5 | |
| 11 | CLAMPSPRINGBAND 35/12BLK | 1 | |
| 12 | RIVETINTERLOCKB(50) (50 per pack) | 24 | |
| 14 | GUARD COOL.EXT. | 2 | |
| 17 | HOSEPUMP/CTR.EXT. | 1 | |
| 18 | TRIMEDGE6FTBLACK [BULK SVC] | 0 | |
| 19 | HOSEENG/SIDE EXT. | 1 | |
| 20 | HOSECROSSOVER | 1 | |
| 21 | SPRINGHOSE RETAINER | 1 | |
| 22 | TUBINGCONVOL1"X2.5" | 1 | |
| 23 | LINEFUEL1/4 ID(1525 CM.) [BULK SVC] | 0 | |
| 24 | CLAMPHOSE(10) (10 per pack) | 8 | |
| 25 | VALVE CHECK | 1 | |
| 26 | FILTERCOOLANTLGE. | 1 | |
| 27 | COOLERRHSIDE(XTRA 10) | 1 | |
| 28 | GROMMET RUBBER | 1 | |
| 30 | CLAMPSPRINGBAND 29/12BLK | 2 |
