| № | Наименование | Примечание | Кол-во |
|---|---|---|---|
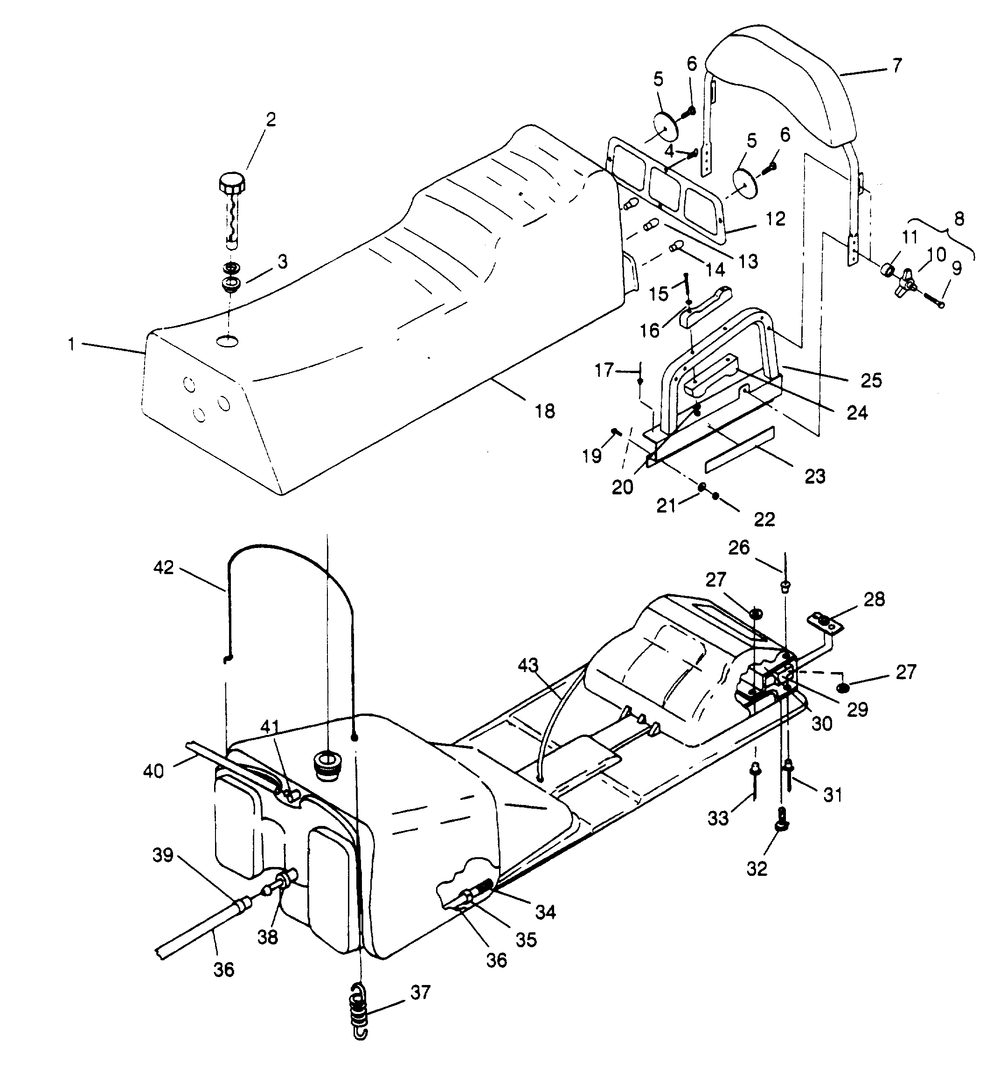
| 2 | CAPGASW/GAUGE | 1 | |
| 3 | GROMMETFUELTANK | 1 | |
| 4 | SCREW(10) (10 per pack) | 4 | |
| 8 | KNOB ASMBACKREST | 4 | |
| 9 | SCREW | 4 | |
| 10 | KNOB BACKREST | 4 | |
| 13 | BULB | 1 | |
| 14 | BULBTAILLIGHT(10) (10 per pack) | 2 | |
| 15 | SCREW | 4 | |
| 16 | WASHERFLAT | 8 | |
| 17 | RIVETINTERLOCKB(50) (50 per pack) | 4 | |
| 19 | BOLT | 4 | |
| 20 | NUT NYLOK 10-24 Y | 4 | |
| 21 | WASHERFLAT(10) (10 per pack) | 4 | |
| 22 | NUT NYLOK | 4 | |
| 23 | REFLECTOR RED [CGBA ONLY] | 2 | |
| 24 | GRIP-HAND W/INSERT (Euro SKS) | 4 | |
| 26 | RIVET BLIND(50) * (50 per pack) | 5 | |
| 27 | WASHER | 5 | |
| 28 | NUTRETAINER-WELD. | 2 | |
| 29 | HOUSING-TAILLIGHT | 1 | |
| 30 | COVERT/L PROTECTOR | 1 | |
| 31 | RIVET(10) (10 per pack) | 4 | |
| 32 | SCREW(10) (10 per pack) | 2 | |
| 33 | RIVET(50) (50 per pack) | 2 | |
| 34 | PICK-UP-FUELW/FILTER105MICRN | 1 | |
| 35 | RING COMPRESSION | 2 | |
| 36 | LINE FUEL1/4 ID(600 CM.) | 0 | |
| 37 | SPRING(10) (10 per pack) | 1 | |
| 38 | FITTING - OUTLET | 1 | |
| 40 | LINEFUEL1/8 ID600 CM. | 0 | |
| 41 | FITTING90 DEG1/8 | 1 |
