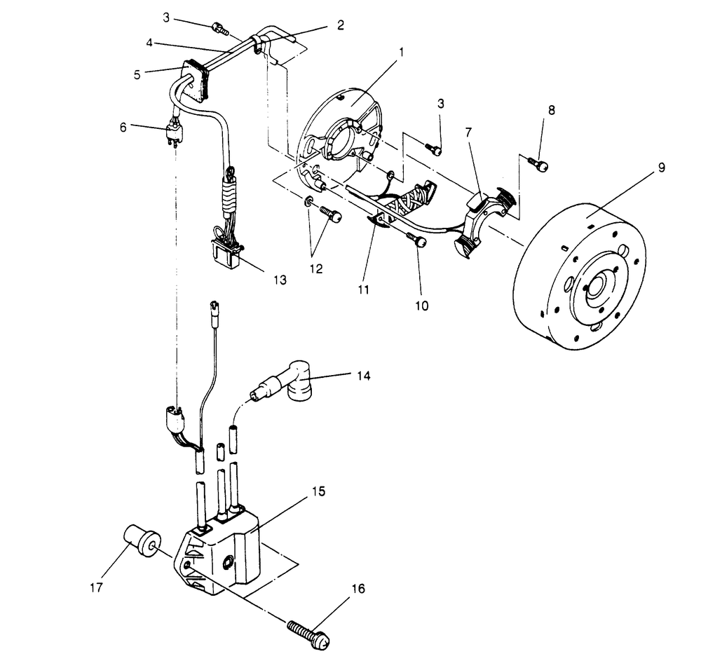
| № | Наименование | Примечание | Кол-во |
|---|---|---|---|
| 1 | PLATE COIL | 1 | |
| 2 | CLAMP | 1 | |
| 3 | ASM.SCREW&WASHER(10) (10 per pack) | 2 | |
| 4 | HARNESS WIRE (Incl. 2) | 1 | |
| 5 | GROMMET | 1 | |
| 6 | COUPLER | 1 | |
| 7 | STATOR 1 | 1 | |
| 8 | ASM.SCREW AND WASHER(10) (10 per pack) | 3 | |
| 10 | ASM.SCREW & WASHER | 2 | |
| 11 | COIL EXCITER | 1 | |
| 12 | ASM.SCREW&WASHER(10) (10 per pack) | 1 | |
| 13 | COUPLERMALE | 1 | |
| 14 | RESISTOR PLUG CAP (10) (10 per pack) | 2 | |
| 16 | SCREW&WASHER(10) (10 per pack) | 2 | |
| 17 | NUT-RUBBER | 2 |
