| № | Наименование | Примечание | Кол-во |
|---|---|---|---|
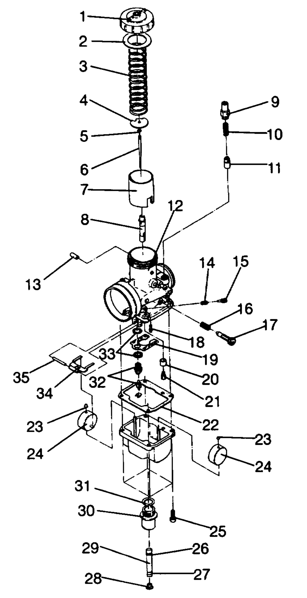
| 3 | SPRINGTHROTTLE | 1 | |
| 4 | PLATE THROTTLE | 1 | |
| 5 | E-RING(10) (10 per pack) | 1 | |
| 7 | VALVE THROTTLE2.5 (2.5) | 1 | |
| 8 | JETNEEDLE(Q-8) (Q-8) 247 | 1 | |
| 9 | HOLDERGUIDE | 1 | |
| 10 | SPRINGPLUNGER | 1 | |
| 11 | ASM.PLUNGER | 1 | |
| 12 | CARB.tahos_1 ASM. (Incl. 1-2530-35) | 1 | |
| 12 | CARB.tahos_3 ASM. (Incl. 1-2530-35) | 1 | |
| 13 | CAP | 1 | |
| 14 | SPRINGAIR ADJUST | 1 | |
| 15 | SCREWAIR | 1 | |
| 16 | SPRING | 1 | |
| 17 | SCREWTHROTTLE STOP | 1 | |
| 18 | JETPILOTtahos_30(10) (tahos_30) (10 per pack) | 1 | |
| 20 | RINGCARB | 1 | |
| 21 | JETMAINHX.HDtahos_350(10) [800] (10 per pack) | 1 | |
| 21 | JETMAINtahos_390 (tahos_390) (1) | 1 | |
| 21 | JETMAINHX.HDtahos_360(10) (tahos_360) (2) (10 per pack) | 1 | |
| 22 | GASKETFLOAT CHAMBER | 1 | |
| 23 | CAP(10) (10 per pack) | 2 | |
| 24 | ASM.FLOAT | 2 | |
| 25 | SCREW | 4 | |
| 26 | CLAMP-HOSE | 1 | |
| 27 | CLAMPHOSE(10) (10 per pack) | 1 | |
| 28 | PLUGTRAP | 1 | |
| 29 | LINEFUEL1/4 ID(1525 CM.) | 1 | |
| 30 | FITTINGSEDIMENT | 1 | |
| 31 | O RING | 1 | |
| 33 | WASHER(10) (10 per pack) | 1 | |
| 34 | ARMFLOAT | 1 | |
| 35 | PIN FLOAT | 1 |
