| № | Наименование | Примечание | Кол-во |
|---|---|---|---|
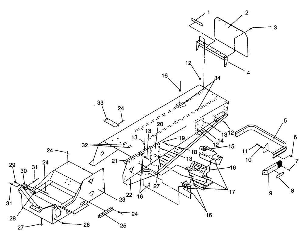
| 2 | FLAP-SNOWMOLDEDBLK W/WHITE | 1 | |
| 3 | RIVETPOP(50)* (50 per pack) | 5 | |
| 6 | NUT-NYLOK(10) (10 per pack) | 4 | |
| 7 | SCREW | 4 | |
| 8 | REFLECTOR RED [CGBA ONLY] | 2 | |
| 9 | CAP BUMPER BLK. | 2 | |
| 10 | WASHER FLAT(10) * (10 per pack) | 4 | |
| 11 | BOLT | 4 | |
| 12 | RIVET (50) (50 per pack) | 25 | |
| 13 | RIVET(10) (10 per pack) | 58 | |
| 15 | EXTRUSIONCLUTCHGUARD | 1 | |
| 16 | RIVETINTERLOCKB(50) (50 per pack) | 44 | |
| 18 | RIVET(10) (10 per pack) | 2 | |
| 19 | SNAP-MALE | 2 | |
| 20 | BRKTF.SUSP.BLK. | 2 | |
| 24 | RIVETINTERLOCKZ(50) * (50 per pack) | 95 | |
| 26 | PLUG HOLE | 2 | |
| 27 | PLUG HOLE | 2 | |
| 28 | NUTFLANGE(10) (10 per pack) | 1 | |
| 29 | SCREW | 1 | |
| 31 | RIVET(50) (50 per pack) | 4 | |
| 34 | STRIP-WEAR | 2 |
